Dämpfende Werkstoffe - Geldämpfer

Ob in feinmechanischen Baugruppen, automatisierten Anlagen oder der Schwingungsisolierung sensibler Komponenten - Geldämpfer bieten eine hochwirksame, kompakte Lösung zur Energieaufnahme bei Bewegung, Stoß und Vibration. Dieser Blog zeigt, wie mechanische Dämpfung mit Gel funktioniert, worin die Unterschiede zu klassischen Elastomer-Lösungen liegen, und worauf es bei Auswahl, Einbau und Materialwahl wirklich ankommt.

Was sind Geldämpfer und wie funktionieren sie?

In vielen industriellen Anwendungen treten mechanische Schwingungen auf, die kontrolliert, begrenzt oder vollständig abgebaut werden müssen. Ohne geeignete Dämpfungsmaßnahmen führen Bewegungen häufig zu unkontrollierten Schwingungen. Schwingt das System durch Schwingungen unkontrolliert auf, kann dies zu Fehlfunktionen oder Schäden führen. Geldämpfer bieten in solchen Fällen eine effektive Lösung: Sie wandeln mechanische Energie gezielt in Wärme um und erzeugen damit eine gedämpfte Schwingung, bei der die Bewegung kontrolliert abklingt. Das unterscheidet sie grundlegend von rein elastischen Systemen, die oft Rückschläge oder Nachschwingen verursachen. Geldämpfer wirken leise, präzise und zuverlässig, selbst bei kleinsten Bewegungsamplituden oder hochfrequenten Störungen.

Ein Geldämpfer nutzt zur Energieaufnahme ein hochviskoses Gel, meist auf Silikonbasis, das sich in einem geschlossenen Gehäuse befindet. Wird ein bewegliches Element, wie z.B. eine Welle oder ein Rotor, durch dieses Gel hindurch bewegt, entsteht ein strömungsbedingter Widerstand. Die dabei entstehende Reibung im Gel sorgt dafür, dass die Bewegungsenergie nicht zurückgegeben, sondern in Wärme dissipiert wird.

Das Ergebnis ist eine gedämpfte Schwingung: Die Amplitude der Bewegung nimmt kontinuierlich ab, ohne dass das System unkontrolliert weiterschwingt oder rückfedert. Der Dämpfungsgrad kann dabei gezielt über die Viskosität des Gels, die Bauform des Dämpfers und die Bewegungsgeschwindigkeit angepasst werden. Dadurch lassen sich Geldämpfer exakt auf das gewünschte Dämpfungsverhalten abstimmen.

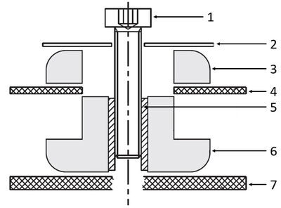
Vibrationsdämpfer mit Gelbuchse: 1 - Schraube, 2 - Unterlegscheibe, 3 - Gelbuchse, 4 - Ausrüstung, 5 - Hülse, 6 - Gelbuchse, 7 - Befestigung
Vibrationsdämpfer mit Gelbuchse: 1 - Schraube, 2 - Unterlegscheibe, 3 - Gelbuchse, 4 - Ausrüstung, 5 - Hülse, 6 - Gelbuchse, 7 - Befestigung

Wie unterscheiden sich Geldämpfer von anderen Dämpfungselementen

Im Vergleich zu klassischen Kautschuk- oder PU-Kautschuk-Dämpfern, bei denen die Dämpfung durch die viskoelastische Verformung des Werkstoffs selbst erfolgt, basiert die Funktion des Geldämpfers auf einem fluiddynamischen Prinzip. Die Energieaufnahme geschieht hier nicht im Material, sondern in einem Medium - dem Gel - das durch mechanische Bewegung verdrängt oder durchströmt wird.

Ein weiterer Unterschied liegt im Fehlverhalten unter Dauerbelastung: Während Elastomere mit der Zeit ermüden und ihre Form ändern können, bleiben hochwertige Silikongels weitgehend alterungsbeständig. Zudem benötigen Geldämpfer keine Rückstellkraft. Sie wirken rein dämpfend, ohne zu federn, es sei denn, sie werden mit einem separaten Federelement kombiniert.

Welche Materialien werden für Geldämpfer verwendet?

Die Leistung eines Geldämpfers hängt wesentlich vom eingesetzten Gelmaterial ab. Dieses bestimmt, wie stark, wie gleichmäßig und in welchem Temperaturbereich die Dämpfung erfolgt. In der Praxis kommen vor allem drei Materialgruppen zum Einsatz: Silikon-Gel, Polyurethan-Gel und thermoplastisches Elastomer (TPE). Sie unterscheiden sich in ihren mechanischen Eigenschaften, ihrer chemischen Stabilität und ihrer Verarbeitbarkeit - und damit auch in den Anwendungsfeldern, für die sie jeweils geeignet sind.

Silikon-Gel

Silikon-Gele sind die am häufigsten eingesetzten Materialien in hochwertigen Geldämpfern, insbesondere in Anwendungen, bei denen Dauerbelastung, Temperaturstabilität oder eine sehr sanfte Dämpfung gefragt sind. Sie bestehen aus polysiloxanbasierten Ketten, die durch schwache Vernetzungen ein halbfestes, transparentes Gel bilden. Silikon-Gele zeichnen sich insbesondere durch folgende Eigenschaften aus:

  • hervorragende thermische Beständigkeit, typisch -40 °C bis +200 °C
  • sehr niedrige Glasübergangstemperatur, wodurch sie auch bei Kälte weich und dämpfend bleiben
  • gute Alterungsbeständigkeit gegenüber Umwelteinflüssen
  • hohe Formstabilität ohne Fließen

Polyurethan-Gel

Polyurethan-Gele basieren auf dem vielseitigen Kunststoffsystem Polyurethan, das durch kontrollierte Vernetzung in ein gelartiges, zähes Medium überführt wird. Diese Gele sind typischerweise etwas fester als Silikon-Gele, bieten aber eine deutlich höhere mechanische Belastbarkeit und Abriebfestigkeit. Polyurethan-Gele haben folgende Vorteile:

  • hohe Reiß- und Druckfestigkeit
  • einstellbare Viskosität und Dämpfungscharakteristik
  • gute Haftung auf Kunststoffen und Metallen
  • gute chemische Beständigkeit, vor allem bei esterbasierten Systemen

Thermoplastisches Elastomer (TPE)

Thermoplastische Elastomere, oder TPE-Gele, kombinieren die Vorteile von Thermoplasten und Elastomeren. Sie bestehen aus polymeren Netzwerken. Sie sind formstabil, aber thermoplastisch verarbeitbar. Dadurch sind sie recyclingfähig und besonders attraktiv für die Serienfertigung. Diese Gele sind bekannt für:

  • kostengünstige Herstellung
  • thermoplastisch verarbeitbar (kein chemisches Aushärten)
  • gute Haptik und Verformbarkeit
  • begrenzte Temperaturbeständigkeit

Einflussfaktoren auf die Leistungsfähigkeit von Geldämpfern

Die Funktionsweise von Geldämpfern beruht auf einem fein abgestimmten Zusammenspiel zwischen Materialeigenschaften, Geometrie und Bewegungsparametern. Damit ein Geldämpfer in einer konkreten Anwendung zuverlässig und effizient arbeitet, müssen verschiedene Einflussgrößen beachtet werden, sowohl bei der Auslegung als auch im Betrieb.

Trapezförmiger Geldämpfer mit Außengewinde
Trapezförmiger Geldämpfer mit Außengewinde

Im Gegensatz zu klassischen elastomeren Dämpfungselementen, bei denen die Werkstoffverformung im Vordergrund steht, hängt die Dämpfungswirkung bei Geldämpfern stark von der Viskoelastizität des Gels, der Bewegungsgeschwindigkeit, der Bauteilgeometrie sowie den Umgebungsbedingungen ab. Einflüsse wie Temperatur, Einbaulage, Materialviskosität oder die Art der Krafteinleitung wirken sich direkt auf das Dämpfungsverhalten aus und bestimmen letztlich, wie gut das System Schwingungen, Stöße oder Bewegungen aufnehmen und kontrollieren kann.

Materialauswahl

Die Wahl des Gels beeinflusst direkt die Leistungsfähigkeit eines Geldämpfers. Silikon-Gele bieten eine besonders hohe thermische Stabilität (typisch -40 °C bis +200 °C) und zeigen auch bei langfristiger Belastung kaum Alterung oder Verhärtung. Sie behalten ihre Dämpfungswirkung über viele Zyklen hinweg konstant bei und sind zudem beständig gegenüber UV-Strahlung und zahlreichen Chemikalien. Darüber hinaus schützen Silikon-Gele vor korrosiven Angriffen, näheres dazu können Sie in unserem Beitrag über Erosion und Korrosion nachlesen. Polyurethan-Gele hingegen punkten mit höherer mechanischer Belastbarkeit und guter Verarbeitbarkeit, sind jedoch weniger hitzebeständig und empfindlicher gegenüber Feuchtigkeit und Alterung. Sie eignen sich vor allem für Anwendungen mit moderater Temperaturbelastung und kürzeren Lebenszyklen.

Umgebungstemperatur

Das Dämpfungsverhalten von Geldämpfern ist stark temperaturabhängig. Mit sinkender Temperatur steigt die Viskosität des Gels - der Dämpfer wird härter und reagiert träger. Umgekehrt sinkt die Viskosität bei höheren Temperaturen, was zu einer weicheren Dämpfungswirkung führt. Silikon-Gele zeigen in einem breiten Temperaturbereich ein relativ stabiles Verhalten, während PU-Gele deutlich empfindlicher auf Temperaturschwankungen reagieren können. Für Anwendungen mit stark wechselnden oder extremen Temperaturen sind daher Gele auf Silikonbasis meist die robustere Wahl.

Eigenschaften von Silikon im Vergleich zu anderen Werkstoffen
Werkstoff Wetterbeständigkeit Wasserbeständigkeit Ölbeständigkeit Ozonbeständigkeit Betriebstemperaturbereich
Silikon -40 °C bis +200 °C
Naturkautschuk × × -30 °C bis +60 °C
Chloropren-Gummi -20 °C bis +70 °C
◎ - am besten geeinget  〇 - geeignet  △ - bedingt geeinget   × - nicht geeignet

Geometrie

Die Geometrie des Gelkörpers hat einen direkten Einfluss auf die Dämpfungscharakteristik. Je nach Form, Dicke und Volumen verändert sich die Scherbelastung, der das Gel bei Bewegung ausgesetzt ist. Ein dünner Gelspalt erzeugt bei gleicher Bewegung höhere Scherkräfte und damit stärkere Dämpfung, während größere Volumina mit geringerer Scherbeanspruchung weicher reagieren. Durch gezielte Anpassung der Geometrie lässt sich das Dämpfungsverhalten somit fein abstimmen, unabhängig vom eingesetzten Material.

Belastungsfrequenz

Die Frequenz beschreibt, wie oft sich eine Belastung - beispielsweise eine Schwingung oder Bewegung - pro Sekunde wiederholt. Geldämpfer reagieren sensibel auf diese Belastungsfrequenz, da viskoelastische Gele bei unterschiedlichen Frequenzen unterschiedlich wirken. Bei niedrigen Frequenzen ist das Gelverhalten eher weich und fließend und erzeugt eine eher schwache Dämpfung. Mit steigender Frequenz nimmt der innere Widerstand des Gels zu, wodurch die Dämpfungswirkung deutlich steigt. Daher ist es ausschlaggebend, Geldämpfer so auszulegen, dass sie im jeweiligen Frequenzbereich - ob langsam, dynamisch oder hochfrequent - das gewünschte Dämpfungsverhalten zeigen.

Alterung und Ermüdung

Wie alle Werkstoffe unterliegen auch Gelmaterialien einem gewissen Alterungs- und Ermüdungsverhalten, insbesondere bei thermischer oder chemischer Belastung. Über die Zeit können sich die Viskoelastizität oder Haftungseigenschaften verändern, was wiederum die Dämpfungswirkung beeinträchtigt. Silikon-Gele zeigen hier meist eine hohe Beständigkeit gegenüber Hitze, UV oder Oxidation. PU-Gele hingegen sind empfindlicher und können bei längerer Einwirkung von Wärme oder Feuchtigkeit verhärten, schrumpfen oder klebrig werden. Deshalb ist bei der Auslegung auch die geplante Einsatzdauer und Umgebung zu berücksichtigen, um Funktionsverluste durch Materialabbau zu vermeiden. Welche Prüfverfahren sich dafür eignen, erfahren Sie in unserem Beitrag über Härtegrade und Härteprüfungen.

Montageart

Auch die Art der Montage hat einen wesentlichen Einfluss auf das Verhalten eines Geldämpfers. Je nachdem, ob das Dämpfungselement eingepresst, verklebt oder frei gelagert ist, verändern sich sowohl die Wirkungsrichtung der Dämpfung als auch die effektive Steifigkeit des Systems. Bei einer festen Einpressung wird das Gel zusätzlich seitlich abgestützt, was die Dämpfung gezielter in eine Richtung lenken und die Steifigkeit erhöhen kann. Eine freie Lagerung erlaubt hingegen eine weichere, gleichmäßigere Dämpfung in mehreren Achsen. Auch die Klebung auf bestimmten Oberflächen beeinflusst das Gleit- oder Haftverhalten des Dämpfers und damit seine Reaktion auf Bewegung.

Anwendungsgebiete von Geldämpfern

Im Maschinenbau werden Geldämpfer eingesetzt, wenn klassische Elastomere an ihre Grenzen stoßen, z.B. bei hochfrequenten Schwingungen, kleinen Bewegungen oder beengtem Bauraum.

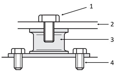
Anwendungsbeispiel - Gel-Schwingungsdämpfer mit Innengewinde in Installation mit Augplatte: 1 - Schraube, 2 - Augplatte, 3 - Gel-Schwingungsdämpfer mit Innengewinde, 4 - Schraube
Anwendungsbeispiel - Gel-Schwingungsdämpfer mit Innengewinde in Installation mit Augplatte: 1 - Schraube, 2 - Augplatte, 3 - Gel-Schwingungsdämpfer mit Innengewinde, 4 - Schraube

Ein typischer Anwendungsfall ist die Schwingungsentkopplung empfindlicher Baugruppen, z.B. in Messsystemen oder optischen Geräten, bei denen Mikrovibrationen zu Genauigkeitsverlusten führen können. An Werkzeugmaschinen helfen Geldämpfer, Vibrationen im Bearbeitungsprozess zu reduzieren, wodurch sich die Oberflächenqualität verbessern und Werkzeugverschleiß verringern lassen. Auch bei beweglichen Abdeckungen oder Verkleidungen sorgen Geldämpfer für ein leises, kontrolliertes Schließen ohne Rückprall. Das erhöht sowohl den Komfort als auch die Lebensdauer. Nicht zuletzt dienen sie als Nachlaufbremsen in Linearführungen, um Endlagenbewegungen sanft und schwingungsfrei abzubremsen - ideal für automatisierte Abläufe mit hoher Wiederholgenauigkeit.

Geldämpfer kommen längst nicht mehr nur als kompakte Einzelelemente zum Einsatz. Zunehmend werden vibrationsdämpfende Gele auch strukturell in Bauteile integriert, um gezielt Schwingungen zu dämpfen und empfindliche Systeme zu entkoppeln. Solche Anwendungen finden sich z. B. in Gel-Schwingungsdämpfern, schwingungsdämpfenden Gelbuchsen und vibrationsdämpfenden Gelplatten, die in unterschiedlichsten industriellen Bereichen zum Einsatz kommen.

Schwingungsdämpfer mit vibrationsdämpfendem Gel und Gummibeschichtung
Schwingungsdämpfer mit vibrationsdämpfendem Gel und Gummibeschichtung

Gel-Schwingungsdämpfer bestehen in der Regel aus einem Gehäuse mit eingekapseltem, hochviskosem Gel, durch das ein bewegliches Element geführt wird. Diese Dämpfer bieten eine gerichtete, geschwindigkeitsabhängige Dämpfung und eignen sich ideal für kleine Amplituden und feine Schwingungen, z.B. in Sensorhalterungen, feinmechanischen Achsen oder Baugruppen mit hoher Präzisionsanforderung.

Vibrationsdämpfer mit Gelbuchse
Vibrationsdämpfer mit Gelbuchse

Schwingungsdämpfende Gelbuchsen sind eine Alternative zu klassischen Elastomerbuchsen, z.B. in der Lagerung von Roboterarmen, kleinen Antriebseinheiten oder beweglichen Maschinenteilen. Durch die Gelstruktur innerhalb der Buchse wird die Schwingungsenergie nicht nur aufgenommen, sondern gezielt über innere Reibung im Gel in Wärme umgewandelt. Das sorgt für eine sehr leise, gleichmäßige Bewegung bei gleichzeitig hoher Entkopplungswirkung.

Vibrationsdämpfende Gelplatten
Vibrationsdämpfende Gelplatten

Vibrationsdämpfende Gelplatten kommen häufig als Zwischenlagen, Sockelelemente oder Unterlagen zum Einsatz, beispielsweise zur Entkopplung ganzer Baugruppen oder Geräte. Sie lassen sich in verschiedenen Dicken und Härten auslegen und bieten besonders in Kombination mit starren Bauteilen eine effektive Möglichkeit, Körperschall und Vibrationen zu reduzieren, ohne aufwendige Geometrien oder Befestigungen. Mikro­vibrationsarme Auflageflächen können die Wirkung von Gel-Platten erhöhen.

Einflussfaktoren bei der Wahl des richtigen Geldämpfers

Geldämpfer unterscheiden sich in ihrer Materialbasis, Bauform, Dämpfungscharakteristik und Beständigkeit erheblich. Je nach Einsatzumgebung, Belastungsprofil und Konstruktionsvorgabe kann eine falsche Auswahl die gewünschte Dämpfungswirkung deutlich beeinträchtigen, oder im schlimmsten Fall zu Funktionsausfällen führen. Um eine zuverlässige, dauerhafte und wirkungsvolle Dämpfung zu gewährleisten, müssen die Eigenschaften des Dämpfers sorgfältig auf das Einsatzszenario abgestimmt werden. Im Folgenden werden einige der wichtigsten Einflussfaktoren erläutert, die bei der Auslegung eines Geldämpfers berücksichtigt werden sollten.

Art der Belastung

Geldämpfer lassen sich gezielt so auslegen, dass sie entweder stark auf plötzliche Bewegungen reagieren oder auch über längere Zeit eine gleichmäßige Dämpfung aufrechterhalten. Die Gelviskosität, das Volumen und die Bauform sind dabei entscheidend.

  • Bei Stoßbelastungen, wie z.B. beim Schließen von Klappen oder dem Abfangen beweglicher Teile, ist ein Gel mit hoher Viskosität und guter Energieabsorption gefragt.
  • Bei Dauerbelastung, z.B. in Nachlaufbremsen oder Führungen, muss das Gel langfristig stabil bleiben, ohne sich zu verformen oder auszuhärten.
  • Bei Vibrationen wiederum, insbesondere im Mikrobereich, kommt es auf eine feine, richtungsunabhängige Dämpfung an - idealerweise mit geringer Rückstellkraft, wie sie hochwertige Silikongels bieten.

Frequenzbereich

Die Frequenz, mit der eine Bewegung oder Schwingung auftritt, beeinflusst die Dämpfungswirkung maßgeblich. Je nach Einsatzfall müssen daher der richtige Materialtyp und die passende Geometrie gewählt werden, um das gewünschte Verhalten zu erzielen.

  • In hochfrequenten Anwendungen, wie sie beispielsweise in der Elektronik, Feinmechanik oder Sensorik auftreten, sind Materialien gefragt, die auch bei sehr kleinen und schnellen Bewegungen zuverlässig Energie abbauen, ohne Eigenresonanzen zu erzeugen.
  • Niederfrequente Bewegungen, wie sie typischerweise im Maschinen- oder Anlagenbau auftreten, verlangen dagegen ein Gel, das ausreichend Energie aufnimmt, ohne zu weich oder unkontrolliert zu reagieren. Hier kann auch die Geometrie des Dämpfers gezielt angepasst werden.

Einbauumgebung

Die Einbausituation bestimmt maßgeblich, welcher Dämpfertyp in Frage kommt. Je nach Umgebung muss also das chemisch und thermisch geeignete Material gewählt werden.

  • Bei beengten Platzverhältnissen sind kompakte oder integrierbare Dämpferlösungen gefragt - etwa als Gelbuchse oder flache Gelplatte.
  • Temperaturanforderungen spielen ebenfalls eine große Rolle: Während PU-Gele meist bis ca. +100 °C stabil bleiben, sind Silikon-Gele auch bei extremen Temperaturen zwischen -40 °C und +200 °C einsatzfähig.
  • Chemische Einwirkungen, wie Öle, Reinigungsmittel oder Feuchtigkeit, erfordern widerstandsfähige Materialien.

Zulässige Restbewegung oder Restkraftübertragung

In manchen Anwendungen darf sich das gedämpfte Bauteil nach der Bewegung noch leicht zurückbewegen oder federn, in anderen soll es möglichst vollständig gestoppt und gehalten werden. Je nach Gel und Dämpferauslegung lässt sich dieses Verhalten steuern.

  • Bei sicherheitsrelevanten Anwendungen oder empfindlichen Komponenten kann eine möglichst vollständige Schwingungsisolation notwendig sein.
  • In anderen Fällen ist eine gewisse Restbewegung zulässig oder sogar gewünscht, beispielsweise um kinetische Energie schrittweise abzubauen oder mechanische Rückmeldung zu erhalten.

Lebensdaueranforderungen

Je nach Anwendung kann ein Geldämpfer mehrere Millionen Zyklen durchlaufen. Dabei darf das Dämpfungsverhalten nicht nennenswert nachlassen.

  • In Anwendungen mit hoher Zyklenzahl, wie bei Robotikachsen, Linearführungen oder Klappenmechanismen, muss das Gel eine hohe Form- und Dämpfungsstabilität über lange Zeit gewährleisten.
  • Silikon-Gele zeigen hier eine besonders gute Alterungsbeständigkeit und eignen sich für Einsätze mit mehreren Millionen Bewegungszyklen.
  • In weniger beanspruchten Anwendungen (z.B. Wartungsklappen oder Gehäuseabdeckungen) kann ein einfacheres PU-Gel oft wirtschaftlicher und ausreichend sein.

Aktuelle Entwicklungen und Innovationen

Neue Materialien, veränderte Konstruktionsmethoden und höhere Ansprüche an Präzision, Miniaturisierung und Nachhaltigkeit treiben die Innovationen voran. Der Fokus liegt dabei zunehmend auf maßgeschneiderten Dämpfungslösungen, die sich flexibel an die jeweilige Umgebung und Funktion anpassen lassen. Fünf aktuelle Entwicklungsrichtungen stehen dabei besonders im Mittelpunkt.

Nanoverstärkte Gele

Ein wichtiger Trend ist die Integration von Nanopartikeln oder nanoskaligen Füllstoffen in Gelmaterialien, um die mechanische Festigkeit deutlich zu erhöhen, ohne die weiche, dämpfende Eigenschaft zu verlieren. Diese nanoverstärkten Gele zeigen verbesserte Reißfestigkeit, Formstabilität und Temperaturbeständigkeit, wodurch sie auch in hochbelasteten Anwendungen oder kompakten Geometrien zuverlässig eingesetzt werden können.

Temperaturadaptive Materialien

Ein weiterer Innovationsschwerpunkt liegt auf temperaturadaptiven Gelwerkstoffen, die ihre Dämpfungseigenschaften automatisch an die Umgebungstemperatur anpassen. Diese Materialien reagieren auf externe Einflüsse, wie zum Beispiel Hitze oder Kälte. Dadurch soll eine gezielte Änderung ihrer Viskosität erzielt werden, wodurch sie bei kalten Bedingungen weicher, bei warmen Bedingungen fester werden. So bleibt die Dämpfungswirkung konstant und funktionssicher, auch bei stark schwankenden Einsatzbedingungen.

Miniaturisierung

Mit dem zunehmenden Einsatz von Mikroelektronik wächst der Bedarf an ultrakompakten Dämpfungslösungen. Neue Mikro-Geldämpfer mit wenigen Millimetern Kantenlänge ermöglichen die präzise Dämpfung feinster Bewegungen oder Vibrationen, unter anderem in Sensorgehäusen, Miniaturaktuatoren oder klappbaren Mechanismen. Diese Entwicklung eröffnet neue Möglichkeiten in der Feinwerktechnik und mobilen Elektronik, wo mechanischer Schutz bislang schwer umsetzbar war.

Recyclingfähige TPE-Gele

Im Zuge wachsender Anforderungen an die Umweltverträglichkeit werden zunehmend recyclingfähige Gelmaterialien auf Basis von thermoplastischen Elastomeren (TPE) entwickelt. Diese Gele lassen sich thermoplastisch verarbeiten und wiederverwerten, ohne auf wesentliche Dämpfungseigenschaften zu verzichten. Sie bieten eine wirtschaftliche und umweltfreundliche Alternative zu klassischen duroplastischen oder silikonbasierten Systemen.

3D-Druck von Gelstrukturen

Ein besonders zukunftsweisender Ansatz ist der additive Fertigungsprozess (3D-Druck) von Gelstrukturen, der es erlaubt, komplexe, anwendungsspezifische Geometrien mit exakt definiertem Dämpfungsverhalten zu erzeugen. So können z. B. Gitterstrukturen, Zonen mit abgestufter Härte oder mehrlagige Dämpfungskörper direkt aus dem Gelmaterial gefertigt werden, ohne Formen, ohne Werkzeugwechsel und vollständig digital gesteuert. Das eröffnet neue Wege in der Prototypenentwicklung, Kleinserienfertigung und Individualisierung von Dämpfungselementen.