Fördertechnik - Spezifikationen und Auswahl von Förder-Synchronriemen

Förder-Synchronriemen sind eine besonders effiziente und vielseitige Antriebslösungen in der Fördertechnik. Anders als herkömmliche Förderbänder oder Kettenantriebe bieten sie eine synchronisierte und damit schlupffreie Kraftübertragung. Sie sind in vielen Anwendungsbereichen nicht mehr wegzudenken. Bei der Auswahl gilt es allerdings einige Faktoren zu beachten.

Vorteile von Förder-Synchronriemen

Verglichen mit anderen Fördermöglichkeiten bieten Synchronriemen eine Reihe von Vorteilen.

Präzision und Synchronisation

Anders als bei klassischen Flach- oder Keilriemen entsteht bei Förder-Synchronriemen kein Schlupf. Ihre Oberfläche verfügt über gute Dämpfungseigenschaften und sie sorgen für eine präzise und synchrone Bewegung zwischen Antrieb und Abtrieb und sind damit besonders geeignet für Förderanwendungen, bei denen es auf Timing und Positionierung ankommt.

Synchronriemen HTBN/HTUN
Synchronriemen für hohe Drehmomente HTBN/HTUN

Ausführung HTBN/HTUN

(1) Rücken
(2) Zahn
(3) Zugstrang
(4) Zahnbespannung

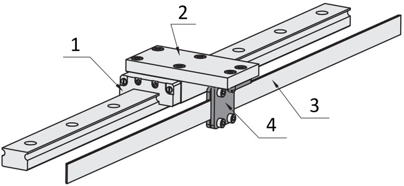
Anwendungsbeispiel Synchronriemen mit Profilschienenführung
Anwendungsbeispiel Synchronriemen mit Profilschienenführung

Anwendungsbeispiel

(1) Profilschienenführung
(2) Montageplatte
(3) Synchronriemen
(4) Anschraubklemme

Vielseitigkeit

Es gibt vielseitige Einsatzmöglichkeiten für Förder-Synchronriemen. Sie werden etwa in der Logistik verwendet, wo sie für einen reibungslosen Materialfluss sorgen, aber auch in Fertigungsstraßen der Automobilindustrie. In der Elektrofertigung schützen antistatische Riemen nach ISO 284 empfindliche Bauteile vor Schäden.

Zahnriemenförderer mechanischer Aufbau
Zahnriemenförderer mechanischer Aufbau

Anwendungsbeispiel Zahnriemenförderer

(1) Schutzabdeckung
(2) Riemenumlenkrolle
(3) Zahnriemen
(4) Antrieb (hier Mittelantrieb)
(5) Profilrahmen
(6) Schutzabdeckung Antrieb

Fördersynchronriemen mit (1) Fördergut
Fördersynchronriemen mit (1) Fördergut

Anwendungsbeispiel Fördersynchronriemen

(1)= Werkstück
ATBT = Synchronriemen mit Anbauteilen
BTG = Zahnriemen-Führungsleiste
HTTA = Synchronriemenscheibe

Synchronriemen mit durch Klemmkraft transportiertem Fördergut (1) (Holz)
Fördersynchronriemen - Klemmförderung

Anwendungsbeispiel Klemmförderung

(1) = Werkstück
LTB = Synchronriemen
BTG = Zahnriemen-Führungsleiste

Vertikaler Synchronriemen
Vertikaler Synchronriemen

Anwendungsbeispiel Vertikalförderer mit Anbauteilen

(1)= Werkstück
ATBT = Synchronriemen mit Anbauteilen
TTPA = Zahnriemenscheiben

Zusätzlich am Fördersynchromriemen angebrachte Anbauteile ermöglichen die vertikale Förderung leichter Werkstücke.

Je nach Anwendung kann zwischen 3 unterschiedlichen Formen der Anbauteile gewählt werden. Während Form A als Anschlag- oder Auflagefläche für das Werkstück dient, ermöglichen die am Fördersynchronriemen montierte Anbauteile der Form B und C die zusätzliche Montage werkstückspezifischer Vorrichtungen.

Effizienz und Wartungsarmut

Der geringe Reibungsverlust von Synchronriemen reduziert den Energiebedarf der Antriebe und garantiert eine hohe Effizienz. Durch ihre robuste Bauweise und ihren geringen Wartungsbedarf tragen sie außerdem zur Erhöhung der Anlagenverfügbarkeit bei, was besonders in Produktionsumgebungen mit hohen Durchsatzraten einen entscheidenden Vorteil darstellt.

Spezifikationen für die Auswahl

Bei der Auswahl von Förder-Synchronriemen gilt es einige Faktoren zu beachten.

Material und Oberflächenbeschaffenheit

Das Material des Riemens beeinflusst seine Belastbarkeit, Flexibilität und Lebensdauer. Je nach Einsatzgebiet empfehlen sich unterschiedliche Materialien:

  • Polyurethan (PU): Hohe Abriebfestigkeit, ideal für trockene Umgebungen
  • Neopren: Temperaturbeständig (-30°C bis +100°C) und chemikalienresistent
  • Beschichtungen (Silikon, Teflon): Reduzieren Reibung und schützen empfindliche Fördergüter

Antistatische Eigenschaften gemäß ISO 284

In explosionsgefährdeten Bereichen oder bei empfindlicher Elektronik ist die Ableitung statischer Aufladung unverzichtbar. Die ISO 284 legt die Anforderungen an antistatische Riemen fest:

  • Maximaler Oberflächenwiderstand: 300 MΩ
  • Sicherstellung der Ableitung elektrostatischer Ladungen

Toleranzen für Flachriemen

Exakte Toleranzen sind entscheidend für den reibungslosen Betrieb. Wichtige Richtwerte sind hierbei:

  • Breite: ±0,5 mm bis ±2 mm (abhängig von der Riemengröße)
  • Dicke: ±0,3 mm bis ±0,5 mm
  • Länge: ±1 mm pro 1000 mm Riemenlänge

Auswahlhilfe für Förderriemen anhand Fördermethode und Transportgut

Ja Ja Ja Nein Nein Nein Standard- anwendung Neigung 25° oder mehr Standard- Anwendung Neigung 5~25° sensible oder druck- empfindliche Werkstücke Stau- förderung Förder- methode Flach- förderung assymetrisch, irregulär geformte Bauteile kleine Gegenstände Bsp.: Flaschenverschlüsse ölige Werkstücke Bsp.: mineralische oder biologische Öle Nahrungsmittel Schräg- förderung adhäsive Werkstücke Bsp.: weiche und glatte bzw. haftende und klebrige Bauteile elektronische Bauteile Bsp.: PC-Leiterplatinen heiße Gegenstände Bsp.: Kunststoff-Spritzgussteile Förderriemen mit Mitnehmern Mitnehmer auf Riemenoberfläche Transport mittels Formschluss. hoher Reibwert Universalriemen für gängige Anwendungen mit Verlaufsführungsprofil schonende Oberfläche Velourmaterial mit Verlaufsführungsprofil Fördergut parallel, seitlich geführt mit/ohne Verlaufsführungsprofil Fördergut seitlich, ungleichmäßig geführt mit Verlaufsführungsprofil hydrolysebeständig Förderer für Nahrungsmittel geringe Anhaftung geringer Reibwert/Adhäsion ölbeständig *Prüfen Sie vor Einsatz die Ölbeständigkeit. antistatisch *Geeignet für durch statische Aufladung gefährdete Teile. griffige Oberfläche hoher Reibwert Polymerriemen wärmebeständig max. 180°C bei Dauereinsatz Edelstahlriemen wärmebeständig max. 130°C bei Dauereinsatz • Hinweis: Diese Angaben sind rein informativ. Für nähere Angaben beachten Sie die Produktseite.
{{iflng:de//}} {{iflng:}}

Synchronriemen und Synchronriemenräder

Beim Einsatz von Synchronriemen ist es wichtig, auch die passenden Synchronriemenräder zu wählen, um Präzision und Langlebigkeit zu gewährleisten. Die falsche Kombination aus Riemen und Rädern führt zu Schlupf, Effizienzverlusten, schnellerem Verschleiß und möglichen Systemausfällen.

Wartung von Synchronriemen

Synchronriemen sind langlebig und wenig wartungsintensiv. Trotzdem ist es auch hier wichtig, auf Verschleißanzeichen zu achten.

Dazu gehören:

  • Risse im Riemen:

Risse im Riemen sind häufig ein Hinweis auf Überlastung oder Materialermüdung

  • Riemen verläuft:

Verläuft der Riemen, sind meist mehrere Ursachen möglich.
Um diese auszuschließen, empfiehlt sich die Überprüfung in 3 Schritten.

1. Fördersystem auf Verbiegung oder Verdrehung des Aluminiumprofils oder des Gehäuses prüfen.
2. Riemenspannung prüfen (eventuell lockerer Riemen).
3. Riemenscheibe oder Spann- und Führungsrolle auf Fremdmaterial prüfen.

  • Riemen wandert auf eine Seite:

Meist ist hier ein verbogenes Aluminiumprofil bzw. Gehäuse die Ursache für das Wandern des Riemens. Jedoch kann auch eine zu ungleiche Verteilung der Ladung zum Wandern des Riemens führen.

  • Abrieb an den Zahnflanken:

Abrieb an den Zahnflanken wird oft durch fehlerhafte Ausrichtung verursacht.

  • Ungewöhnliche Geräusche:

Ungewöhnliche Geräusche oder Vibrationen sind mögliche Indikatoren für eine falsche Synchronriemenspannung oder Beschädigung einer Komponente des Systems. Um größere Schäden zu vermeiden, sollte die beschädigte Komponente umgehend ausgetauscht, und/oder die Spannung des Synchronriemens korrigiert werden.

Wichtig sind deshalb regelmäßige Sichtprüfungen auf Schäden und Abnutzungen vorzunehmen, die Reinigung zur Entfernung von Schmutz und Ablagerungen und die Nutzung von Sensoren zur kontinuierlichen Überwachung von Spannung und Verschleiß. Auch wenn keine sichtbaren Schäden vorliegen, sollten Synchronriemen nach den Herstellerempfehlungen ausgetauscht werden, um langfristig Schäden zu vermeiden.