Achsbolzen / Achslagerbolzen - Ausführung und Anwendung

Achsbolzen und Achslagerbolzen sind wesentliche Verbindungselemente, die in zahlreichen mechanischen Systemen eingesetzt werden, um rotierende Bauteile zu lagern und zu verbinden. Sie fungieren als Drehpunkte und tragen zur Stabilität und Präzision in Anwendungen im Maschinenbau und in der Automatisierung bei. In diesem Artikel werden verschiedene Bauformen und Anwendungsbeispiele von Achsbolzen und Achslagerbolzen vorgestellt.

Was sind Achsbolzen?

Achsen und Bolzen sind grundlegende mechanische Komponenten, die insbesondere im Maschinenbau in vielen Anwendungen zum Einsatz kommen. Eine Achse ist ein Bauteil, das typischerweise als Drehpunkt für Räder, Rollen oder andere bewegliche Teile dient. Ein Bolzen hingegen ist ein zylindrisches Verbindungselement, das zur Fixierung von Bauteilen verwendet wird. Bolzen sind in verschiedenen Ausführungen erhältlich, wie z.B. Bolzen mit Kopf und Gewindezapfen, die nach der DIN 1445 gefertigt werden. Diese Bolzen werden vorwiegend als festsitzende Lager- und Achsbolzen bei moderaten Umfangsgeschwindigkeiten verwendet, z.B. für Seil- und Laufrollen. Die DIN 1445 definiert die spezifischen Anforderungen an Material, Form und Anwendung solcher Bolzen.

Ein Achsbolzen kombiniert die Eigenschaften einer Achse und eines Bolzens, d. h. er vereint die Funktionen von Drehpunkt und Befestigung. Achsbolzen werden also verwendet, um rotierende Bauteile wie Räder oder Rollen an einem festen Trägerobjekt zu befestigen und dienen gleichzeitig als Drehachse für diese Teile. Aufgrund dieser Doppelfunktion finden Achsbolzen in vielen mechanischen Systemen Anwendung, in denen eine stabile Befestigung und eine reibungsarme Drehbewegung erforderlich sind.

Was unterscheidet Achsbolzen von anderen Bolzen?

Neben Achsbolzen gibt es noch andere spezifische Arten von Bolzen, wie zum Beispiel Scharnierbolzen und Achslagerbolzen. Diese sind für verschiedene mechanische Anforderungen konzipiert und unterscheiden sich in ihrer Funktion und Anwendung. Achsbolzen dienen, wie schon erwähnt, primär als Drehachse für rotierende Komponenten und verbinden diese mit einem festen Träger. Sie sind so gestaltet, dass sie sowohl die Lasten übertragen, die durch die Rotation der Bauteile entstehen, als auch eine stabile Befestigung bieten. Achsbolzen sind jedoch nicht nur auf die Funktion als Drehpunkt für rotierende Bauteile beschränkt. In bestimmten Anwendungen werden Achsbolzen auch in einer Zugspannungsausführung eingesetzt. Diese spezielle Ausführung zielt darauf ab, Zugkräfte zu übertragen und aufzunehmen, die entlang der Achse des Bolzens wirken.

Beispielabbildung - Achsbolzen (1) in Zugspannungsausführung
Beispielabbildung - Achsbolzen (1) in Zugspannungsausführung

Scharnierbolzen hingegen werden hauptsächlich in Anwendungen eingesetzt, bei denen Querbelastungen und Scherkräfte auftreten, wie bei Scharnieren von Türen oder Klappen. Sie verbinden zwei Bauteile in der Regel über mehrere Löcher und ermöglichen es diesen Teilen, sich relativ zueinander zu bewegen. Die vorrangige Funktion von Scharnierbolzen besteht darin, eine stabile Verbindung zu schaffen, die gleichzeitig die nötige Flexibilität bietet, um Bewegungen wie Drehen oder Schwenken zu ermöglichen. In Türen, Fenstern und Klappen dienen sie als Drehachse, die das Öffnen und Schließen erleichtert, während sie gleichzeitig die Sicherheit und Stabilität der Verbindung gewährleisten.

Beispielabbildung - Scharnierbolzen (1) in der Ausführung als Splintbolzen
Beispielabbildung - Scharnierbolzen (1) in der Ausführung als Splintbolzen

Achslagerbolzen sind speziell für die Lagerung von Wellen oder Achsen ausgelegt. Diese Bolzen sind ein integraler Bestandteil von Lagersystemen und dienen als Aufnahmepunkte für Lager, die eine präzise Führung und Lagerung der Welle gewährleisten. Achslagerbolzen sind darauf ausgelegt, sowohl die radiale Belastung durch die Lagerung als auch die Biegemomente, die durch die Ausrichtung der Welle entstehen, zu tragen. Passschrauben als eine Unterform von Achslagerbolzen sind spezielle Schrauben, die aufgrund ihrer präzisen Passform und hohen Maßgenauigkeit besonders gut geeignet sind, drehende Bauteile zu lagern und gleichzeitig miteinander zu verbinden. Diese Schrauben sind so gestaltet, dass sie eng in die Bohrungen der zu verbindenden Teile passen. Dadurch wird eine präzise Ausrichtung und eine hohe Stabilität der Verbindung gewährleistet. Schrauben mit Ansatz sind ein weiterer Anwendungsbereich von Achslagerbolzen. Der Ansatz bei solchen Schrauben dient dabei als Abstandshalter, Lagerpunkt oder Anschlagpunkt für das verbundene Bauteil.

Beispielabbildung - Schraube mit Ansatz (1) mit geradem Schlitz, zum Ausführen von Drehbewegungen von Verbindungsteilen
Beispielabbildung - Schraube mit Ansatz (1) mit geradem Schlitz, zum Ausführen von Drehbewegungen von Verbindungsteilen

Im MISUMI Online-Shop finden Sie neben einer Vielzahl von Achsbolzen auch ein umfangreiches Angebot an Scharnierbolzen, Achslagerschrauben sowie Schrauben mit Ansatz.

Achsbolzen mit Gewindebolzen zum Einschrauben in das Trägermaterial
Achsbolzen mit Gewindebolzen zum Einschrauben in das Trägermaterial
Achsbolzen mit Schraubbefestigung (Innengewinde)
Achsbolzen mit Schraubbefestigung (Innengewinde)
Achsbolzen mit Flansch für mehr Stabilität
Achsbolzen mit Flansch für mehr Stabilität

Ein weiteres Unterscheidungsmerkmal ist die Art und Weise, wie Bauteile am Achsbolzen befestigt werden. Je nach den Eigenschaften der zu verbindenden Teile und den vorhandenen Umgebungsbedingungen werden unter anderem folgende Ausführungen unterschieden:

Achsbolzen mit Schraubbefestigung (Gewindebolzen beidseitig)
Achsbolzen mit Schraubbefestigung (Gewindebolzen beidseitig)
Achsbolzen mit Schraubbefestigung (Innengewinde)
Achsbolzen mit Schraubbefestigung (Innengewinde)
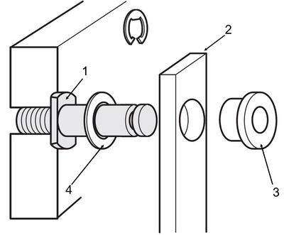
Achsbolzen mit Einstich für Sicherungsringe
Achsbolzen mit Einstich für Sicherungsringe

Achsbolzen können über einen Zentrierbund verfügen. Dieser Bund oder Absatz dient als Anschlag, um die Positionierung zu erleichtern und axiale Bewegungen zu verhindern. Gleichzeitig dient der Zentrierbund als Installationshilfe zum Ansetzen von Werkzeugen wie Schraubenschlüsseln.

Zentrierbund mit gerader Schlüsselfläche (links), abgesetzter Schlüsselfläche (Mitte), sowie mit abgesetztem Sechskant (rechts)
Zentrierbund mit gerader Schlüsselfläche (links), abgesetzter Schlüsselfläche (Mitte), sowie mit abgesetztem Sechskant (rechts)

Achsbolzen und Achslagerbolzen in Gelenkarmen

In mechanischen Systemen sorgen Gelenkarme für eine flexible Verbindung zwischen mehreren Bauteilen. Sie werden häufig in Robotern, Maschinen und Werkzeugen eingesetzt, um Bewegungen in verschiedenen Richtungen zu ermöglichen. Achsbolzen spielen eine zentrale Rolle in der Funktionalität von Gelenkarmen, indem sie als Drehpunkte fungieren und die verschiedenen Teile des Arms miteinander verbinden.

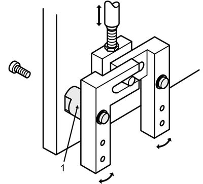
Anwendungsbeispiel - Achsbolzen mit Sicherungsringnut (1) zum Lagern von Gelenkarmen (2) unter Verwendung von Gleitbuchsen (3) und Unterlegscheiben (4)
Anwendungsbeispiel - Achsbolzen mit Sicherungsringnut (1) zum Lagern von Gelenkarmen (2) unter Verwendung von Gleitbuchsen (3) und Unterlegscheiben (4)

Achsbolzen und Achslagerbolzen in Kurvenrollen

Kurvenrollen sind spezielle Maschinenelemente, die in mechanischen Systemen eingesetzt werden, um Bewegungen entlang einer vorgegebenen Bahn präzise zu steuern. Sie werden häufig in Förderanlagen, Automatisierungssystemen und anderen Anwendungen eingesetzt. Ein essenzielles Bauteil von Kurvenrollen ist der Achsbolzen. Er ermöglicht der Rolle, sich reibungsarm zu drehen und den Kontakt mit der Kurvenbahn oder Führungsschiene beizubehalten. Darüber hinaus trägt der Achsbolzen die mechanischen Lasten, die durch die Bewegung der Kurvenrolle entstehen.

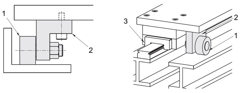
Anwendungsbeispiel - Kurvenrolle (1) mit Achsbolzen und L-Halterung (2) an einem Führungsmechanismus mit Profilschienen (3)
Anwendungsbeispiel - Kurvenrolle (1) mit Achsbolzen und L-Halterung (2) an einem Führungsmechanismus mit Profilschienen (3)

Achsbolzen und Achslagerbolzen in Rotationsmechanismen

Achsbolzen werden auch häufig in automatisierten Systemen und Maschinen eingesetzt, die sowohl lineare als auch rotierende Bewegungen erfordern. Ein Anwendungsbeispiel sind Werkzeugmaschinen, mit denen Werkstücke präzise positioniert und bearbeitet werden. Die Kombination von Linearbewegung und Rotation ermöglicht es, Werkstücke entlang von Achsen zu verschieben und gleichzeitig zu drehen, um verschiedene Bearbeitungsschritte durchzuführen. Die Achsbolzen sorgen dabei für eine stabile Verbindung zwischen linearen und rotierenden Komponenten sowie für eine effiziente Übertragung der entstehenden Kräfte.

Anwendungsbeispiel - Achsbolzen mit Flansch (1), Linearwelle (2) und Linearkugellager (3) in einem Rotationsmechanismus (4) für den Transfer und die Umdrehung eines Werkstücks (5). Weiterführende Informationen zu dieser Beispielanwendung finden Sie hier.
Anwendungsbeispiel - Achsbolzen mit Flansch (1), Linearwelle (2) und Linearkugellager (3) in einem Rotationsmechanismus (4) für den Transfer und die Umdrehung eines Werkstücks (5). Weiterführende Informationen zu dieser Beispielanwendung finden Sie hier.

Was ist bei der Montage und Anwendung von Achsbolzen und Achslagerbolzen zu beachten?

Bei der Montage und Anwendung von Achsbolzen und Achslagerbolzen sind mehrere wichtige Aspekte zu beachten, um eine sichere und effiziente Funktion der verbundenen Bauteile zu gewährleisten. Wie bereits erläutert, sind Achsbolzen und Achslagerbolzen signifikante Verbindungselemente, die sowohl als Drehpunkte für rotierende Bauteile als auch als tragende Elemente in Zugspannungsanwendungen dienen können. Daher erfordert ihre Installation besondere Sorgfalt und Präzision.

Zunächst muss der Achsbolzen den spezifischen Anforderungen der Anwendung entsprechen, einschließlich den Materialanforderungen und mechanischen Belastungen. Faktoren wie Durchmesser, Länge und Materialstärke sind ausschlaggebend für die Leistungsfähigkeit des Bolzens. Bei der Auswahl und Verwendung von Achsbolzen muss darüber hinaus auf den einwandfreien Zustand sowie eine korrekte Ausrichtung und Größe der Schlüsselflächen geachtet werden, um eine effektive Kraftübertragung zu ermöglichen und ein Abrutschen des Werkzeugs zu verhindern. Beschädigungen an den Schlüsselflächen können dazu führen, dass der Bolzen nicht mehr ordnungsgemäß angezogen oder gelöst werden kann, was wiederum die Wartung und Sicherheit der Verbindung beeinträchtigen könnte.

Wichtig ist auch, dass der Achsbolzen präzise in die vorgesehenen Bohrungen oder Lager passt. Es ist entscheidend, das richtige Maß an Spiel zu gewährleisten, da dieses sowohl die Beweglichkeit als auch die Stabilität der Verbindung beeinflusst. Ein zu großes Spiel kann zu unerwünschten Vibrationen und einem erhöhten Verschleiß der Bauteile, und somit langfristig zu Beschädigungen oder einem Versagen der Verbindung führen. Andererseits kann ein zu geringes Spiel die Reibung erhöhen und den Bolzen belasten. Dadurch können die Bauteile überhitzen und die Bewegung blockiert werden.