Distanzhülsen und Distanzscheiben - Materialien und Formen
Distanzhülsen und Distanzscheiben sind wichtige Elemente in der Welt der Verbindungstechnik und Konstruktion. Sie übernehmen dabei mehrere Aufgaben: Sie sind Abstandshalter, verteilen aufkommende Kräfte, sichern Bauteile und dienen der Feinjustierung. Neben den klassischen Unterlegscheiben aus Metall gibt es weitere spezielle Formen und Konfigurationsmöglichkeiten, wie z.B. Rundplatten, auf welche in diesem Artikel eingegangen wird.
Distanzhülsen und Distanzscheiben
Distanzhülsen und Distanzscheiben, auch Abstandshülsen genannt, dienen vor allem als Abstandshalter zu einer vorgegebenen Position. Die Befestigung von Distanzhülsen und Distanzscheiben erfolgt in der Regel über eine Schraube, die durch den Innendurchmesser der Hülse bzw. Scheibe verläuft. Sie werden meist nicht gestanzt, wie es für Unterlegscheiben aus Metall sonst üblich ist (siehe hier für weitere Informationen), sondern rollgeformt und haben eine präzise Länge. Die Längentoleranz (auch Präzisionsklasse) beträgt dabei bis zu ± 0.01 mm. Durch ihre hohe Präzision können einige sogar als Lagerhülse für Wälzlager verwendet werden.
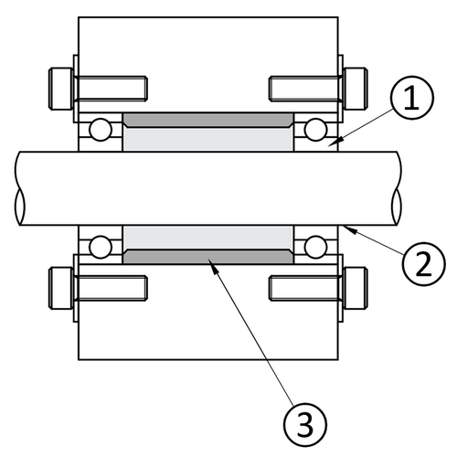
Ein Anwendungsbeispiel für Distanzhülsen ist der Einsatz in einer Welle:
Eine Distanzhülse bzw. Distanzscheibe kann z.B. auch als Federteller eingesetzt werden, um einer Druckfeder als Aufnahme oder Anschlag zu dienen.
Für nähere Informationen zu den verschiedenen Arten der Wellenbefestigung und Wellenenden lesen Sie gern auch unseren Artikel „Linearwellen: Wellenenden und Optionen zur Befestigung von Linearwellen“.
Rundplatten
Rundplatten sind runde Metallscheiben mit Loch, die dicker als Unterlegscheiben bzw. Distanzscheiben sind und einen größeren Durchmesser aufweisen. Verwendet werden sie z.B. als Endscheiben in Wellenführungen zum Fixieren bzw. Verspannen. Zu diesem Zweck empfiehlt sich der Einsatz in Anwendungen, die hohe Positioniergenauigkeit und Fixierung erfordern. Als Wellenendscheiben übernehmen Rundplatten außerdem die Aufgabe, vor mechanischen Beschädigungen zu schützen und das Eindringen von Schmutz oder Staub zu verhindern. Rundplatten eignen sich besonders in Bereichen, in denen hohe Lasten auftreten oder die Oberflächen der Komponenten besonders sensibel sind. Außerdem verteilen sie die Kräfte auf einer größeren Fläche.
Die Bedeutung von Normteilen
Normteile, wie Normscheiben, sind standardisierte Elemente, die in der Fertigung und Konstruktion eine große Rolle spielen. Die Standardisierung sorgt für eine einheitlich hohe Qualität und Kompatibilität (siehe auch Rolle von Normteilen im Maschinenbau). Durch Normteile vereinfacht sich die Montage und der Austausch von Standardteilen. Für Distanzscheiben gelten z.B. verschiedene Normen:
- DIN 125 / ISO 7089: Standardscheiben für allgemeine Anwendungen, die als Unterlegscheiben bei Schraubverbindungen eingesetzt werden.
- DIN 988: Passscheiben mit definierter Dicke für präzise Distanzanforderungen. Zum Einsatz kommen sie z.B. zwischen Sicherungsringen und Sicherungsscheiben, um das Spiel bei axialer Fixierung von Komponenten auszugleichen.
- DIN 7349: Verstärkte Unterlegscheiben für Schrauben mit höherer Belastung. Sie bieten eine größere Kontaktfläche und erhöhen die Widerstandsfähigkeit gegen hohe Kräfte und Drehmomente.
Konfigurationsmöglichkeiten
Normteile sind als Standards für viele Anwendungen ausreichend. Dennoch kommen sie bei speziellen Anforderungen häufig an ihre Grenzen: Eine Sonderlösung muss her. Individualisierte Bauteile ermöglichen Lösungen für spezifische Herausforderungen. Bei MISUMI gibt es verschiedene Konfigurationsmöglichkeiten für Distanzscheiben und Distanzhülsen. Hier sind einige der wichtigsten Varianten und ihre Eigenschaften
Materialauswahl für Distanzscheiben und Distanzhülsen
Bei MISUMI gibt es sowohl ungehärtete als auch gehärtete Scheiben und Hülsen. Die Härte hat Einfluss auf den Verschleiß: Je härter das Material, desto resistenter sind die Hülsen und Scheiben gegen Verformung und Verschleiß. Auch die Wahl des Materials hat Einfluss: Distanzhülsen aus Edelstahl und Distanzscheiben aus Edelstahl eignen sich in korrosiver Umgebung. Für spezielle Umgebungsbedingungen lassen sich bei MISUMI auch Distanzscheiben und Distanzhülsen aus Kunststoff, Keramik, Kautschuk, Filz oder thermisch isolierenden Werkstoffen konfigurieren. Der Einsatz von Kautschuk und Filz ist z.B. für Anwendungen von Vorteil, bei denen Schwingungsdämpfung oder Antistatik gefragt sind.
Distanzhülsen mit besonderen Formen
Distanzhülsen sind zylindrische Bauteile. Sie werden eingesetzt, um einen bestimmten Abstand zwischen zwei Bauteilen zu schaffen. Besondere Formen können dabei sein:
- Konisch / zylindrisch -Zylindrische Distanzhülsen sind die Standardform und eignen sich für die meisten industriellen Anwendungen. Konische Distanzhülsen haben eine verjüngte Form.
- Innen- und Außengewinde -Distanzhülsen mit Innengewinde agieren wie eine Mutter und erleichtern die Schraubverbindung. Auf zusätzliche Muttern und Schrauben kann verzichtet werden.
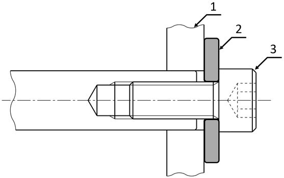
- Sonderform Vorlegescheibe - Eignet sich für die Wellenbefestigung am Wellenende.
- Distanzhülse mit Flansch - Flansche bieten eine größere Auflagefläche und können als Anschlag dienen.
Bei MISUMI sind die Hülsen mit Bund in Form eines Flanschs konfigurierbar. Die Höhe des Bunds ist toleriert und für die präzise Einhaltung einer Distanz verwendbar.
Konfigurierbare Passscheiben
Passscheiben werden bei MISUMI aus Stahl, Edelstahl, Federstahl und Messing gefertigt. Die angebotene Präzision reicht von ± 0.11 bis ± 0.003 mm, wodurch sich Bauteile sehr präzise anpassen lassen. Weitere Informationen zum Thema Toleranzen und Toleranzklassen finden sie in unserem Blog "Toleranzklassen nach ISO 22081 und DIN ISO 2768: Allgemeintoleranzen optimal einsetzen". Innendurchmesser sind erhältlich von 2 bis 130 mm und Außendurchmesser von 3 bis 160 mm. Bei MISUMI erhalten sie normierte Passscheiben in unterschiedlichen Formen und Ausführungen, genormte Passscheiben nach DIN 988 und konfigurierbare Passscheiben. Konfigurierte Passscheiben lassen sich zum Beispiel über den Suchbegriff #CIMA im MISUMI Shop anzeigen.
Metallscheiben nach Präzisionsklasse
Bei MISUMI lassen sich Distanzscheiben und Distanzhülsen nach Maß konfigurieren. Mit präzise gefertigten Distanzhülsen lässt sich der Abstand zwischen zwei Bauteilen genauestens einhalten. Sollten mehrere Hülsen benötigt werden, gibt es auch simultan geschliffene Distanzhülsen mit gleicher Länge, mindestens als Zweierset. Damit lässt sich eine ebene Fläche bilden, bei der dank Höhenunterschied von weniger als ± 5µ ein Spiel reduziert wird.
Die nachfolgenden Abbildungen zeigen den Unterschied der Standard- und Präzisionsausführung von Distanzhülsen und Distanzscheiben bei MISUMI:
Frei konfigurierbare Metallscheiben finden Sie im Onlineshop z.B. mit dem Suchbegriff #FWS.
Überblick über Scheiben und Hülsen im MISUMI-Shop
MISUMI bietet ein breites Sortiment an Metallscheiben und Metallhülsen. Die nachfolgende Tabelle gibt einen Überblick über Varianten und Konfigurationsmöglichkeiten:
| Form | Hinweis | Beispiel | Bereich | Toleranz | Toleranz | Ausführung | ||
|---|---|---|---|---|---|---|---|---|
| Scheibe | Metallscheibe |
- Maß T wählbar - Abmessungen in Abhängigkeit von T wählbar |
![]() |
Dicke T von 1 bis 10 mm |
Standardklasse | Maß T: ±0.1 mm | Maß V: 0.3 mm / 0.1 mm Maß D: 0 / -0.2 mm |
WSSB, WSSM, WSSS |
| - Maß T konfigurierbar (0.5 mm Schritte) - Abmessungen konfigurierbar |
TWSSB, TWSSM, TWSSS | |||||||
| Abmessungen konfigurierbar | FWS, FWSSC, FWSSB, FWSSM, FWSSR, FWSSA, FWSSAB, FWSBB, FWSSS, FWSSSR, FWSUS | |||||||
| Metallscheibe wählbare Toleranz |
Abmessungen konfigurierbar Toleranz der Maße D und V wählbar |
![]() |
Dicke T von 1 bis 10 mm |
Standardklasse | Maß T: ±0.1 mm | Maß V wählbar: Toleranz (H): H7 Toleranz (N): 0.3 mm / 0.1 mm Toleranz (X): (0.2 mm /0) Maß D wählbar: Toleranz (G): g6 Toleranz (H): h7 Toleranz (N): -0.1 mm / -0.3 Toleranz (X): 0 mm / -0.2 |
SWSC, SWSB, SWSM, SWSS | |
| Präzisionsklasse | Maß T: ±0.01 mm | SWMC, SWMB, SWMM, SWMS | ||||||
| Metallscheibe | - Maß T wählbar - Abmessungen in Abhängigkeit von T wählbar |
![]() |
Dicke T von 1bis 10 mm |
Präzisionsklasse | Maß T: ±0.01 mm | Maß V: 0.3 mm / 0.1 mm Maß D: 0 / -0.2 mm |
WASB, WASM, WASS | |
| - Maß T konfigurierbar (0.5 mm Schritte) - Abmessungen konfigurierbar |
TWASB, TWASM, TWASS | |||||||
| Abmessungen konfigurierbar | FWAS, FWASC, FWASB, FWASM, FWASR, FWASA, FWASS, FWASSR, FWASU | |||||||
| Metallscheibe gehärtete Ausführung |
- Maß T wählbar - Abmessungen in Abhängigkeit von T wählbar |
![]() |
Dicke T von 1 bis 10 mm |
Standardklasse | Maß T: ±0.1 mm | Maß V: 0.3 mm / 0.1 mm Maß D: 0 / -0.2 mm |
WSSBH, WSSMH, WSSSH | |
| - Maß T konfigurierbar (0.1 mm Schritte) - Abmessungen konfigurierbar |
FWSSCH, FWSSBH, FWSSMH, FWSSK, FWSSKB, FWSSKM, FWSSSH, FWSSSHR | |||||||
| - Maß T wählbar - Abmessungen in Abhängigkeit von T wählbar |
Präzisionsklasse | Maß T: ±0.01 mm | WASBH, WASMH, WASSH | |||||
| - Maß T konfigurierbar (0.1 mm Schritte) - Abmessungen konfigurierbar |
FWASCH, FWASBH, FWASMH, FWASK, FWASKB, FWASKM, FWASSH | |||||||
| Metallscheibe wählbare Toleranz |
- Maß T konfigurierbar (0.1 mm Schritte) - Abmessungen konfigurierbar |
![]() |
Dicke T von 1 bis 10 mm |
Standardklasse | Toleranz wählbar: Toleranz (B) = Maß T: -0.1 mm / -0.3 mm Toleranz (C) = Maß T: 0.3 mm / 0.1 mm Toleranz (D) = Maß T: 0 / -0.2 mm Toleranz (E) = Maß T: 0.2 mm / 0 |
Maß V: 0.3 mm / 0.1 mm Maß D: 0 / -0.2 mm |
AWSC, AWSB, AWSM, AWSS, AWSH | |
| - Maß T konfigurierbar (0.1 mm Schritte) - Abmessungen konfigurierbar |
Präzisionsklasse | Toleranz wählbar: Toleranz (SB) = Maß T: -0.01 mm /-0.03 mm Toleranz (SC) = Maß T: 0.03 mm / 0.01 mm Toleranz (SD) = Maß T: 0 / -0.02 mm Toleranz (SE) = Maß T: 0.02 mm / 0 |
||||||
| - Maß T konfigurierbar (0.1 mm Schritte) - Abmessungen konfigurierbar |
Hochpräzisionsklasse | Toleranz (A) = Maß T: ±0.005 mm | ||||||
| Metallscheibe mit Flansch |
- Maß L konfigurierbar (0.1 mm Schritte) - Abmessungen konfigurierbar |
![]() |
Maß L von 2 bis 10 mm |
Standardklasse | Maß L: 0 / -0.3 mm | Maß T: ±0.1 mm Maß H: 0 / -0.2 mm Maß V: 0.3 mm / 0.1 mm Maß D: 0 / -0.2 mm |
FTCSS, FTCC, FTCB, FTCM, FTCSK, FTCSKB, FTCSKM, FTCS | |
| Präzisionsklasse | Maß L: ±0.01 mm | FTCMC, FTCMB, FTCMM, FTCMS | ||||||
| Mit Zylindersenkbohrung | - Maß T wählbar - Abmessungen in Abhängigkeit von T wählbar |
![]() |
Dicke T von 6 bis 20 mm |
Standardklasse | Maß T: ±0.1 mm | Maß H: ±0.1 mm Maß V: 0.3 mm /0.1 mm Maß D: 0 / -0.2 mm Maß P: 0.3 mm /0.1 mm |
WZAB, WZAM, WZAS, WZABH, WZAMH, WZASH | |
| - Maß T konfigurierbar (0.5 mm Schritte) Abmessungen in Abhängigkeit von T wählbar |
Dicke T von 3 bis 20 mm |
TWZAB, TWZAM, TWZAS | ||||||
| - Maß T konfigurierbar (0.5 mm Schritte) - Abmessungen konfigurierbar |
Dicke T von 3 bis 50 mm |
FWZASS, FWZAC, FWZAB, FWZAM, FWZAA, FWZAAB, FWZAS, FWZACH, FWZABH, FWZAMH, FWZASK, FWZASKB, FWZASKM, FWZASH | ||||||
| Mit Zylindersenkbohrung | - Maß T konfigurierbar (0.5 mm Schritte) Abmessungen in Abhängigkeit von T wählbar |
![]() |
Dicke T von 3 bis 20 mm |
Präzisionsklasse | Maß T: ±0.01 mm | Maß T: ±0.01 mm Maß H: ±0.1 mm Maß V: 0.3 mm /0.1 mm Maß D: 0 / -0.2 mm Maß P: 0.3 mm / 0.1 mm |
TWZSB, TWZSM, TWZSS | |
| - Maß T konfigurierbar (0.1 mm Schritte) - Abmessungen konfigurierbar |
Dicke T von 3 bis 50 mm |
FWZSC, FWZSB, FWZSM, FWZSS | ||||||
| Mit Gewinde | - Maß T wählbar - Abmessungen in Abhängigkeit von T wählbar |
![]() |
Dicke T von 3 bis 20 mm |
Standardklasse | Maß T: ±0.1 mm | Maß D: 0 / -0.2 mm | WTAB, WTAM, WTAS | |
| - Maß T konfigurierbar (0.5 mm Schritte) - Abmessungen in Abhängigkeit von T wählbar |
TWTAB, TWTAM, TWTAS | |||||||
| - Maß T konfigurierbar (0.5 mm Schritte) - Abmessungen D zwischen 6 und 100 mm konfigurierbar - M2 bis M30 wählbar |
Dicke T von 3 bis 50 mm |
FWTAC, FWTAB, FWTAM, FWTAA, FWTAAB, FWTAS | ||||||
| Senkbohrung / Kopfsenkung |
- Maß T wählbar - Abmessungen in Abhängigkeit von T wählbar |
![]() |
Dicke T von 2.5 bis 8 mm |
Standardklasse | Maß T: ±0.1 mm | Maß E: ±0.1 Maß V: 0.3 mm / 0.1 mm Maß D: 0 / -0.2 mm |
WSRB, WSRM, WSRS | |
| - Maß T konfigurierbar (0.5 mm Schritte) - Abmessungen konfigurierbar |
Dicke T von 2 bis 10 mm |
FWSRC, FWSRB, FWSRM, FWSRA, FWSRS | ||||||
| Mit Schraubenbohrungen | - Maß T konfigurierbar (1 mm Schritte) - Abmessungen konfigurierbar |
![]() |
Dicke T von 1 bis 10 mm |
Standardklasse | Maß T: ±0.1 mm | Maß V: 0.3 mm / 0.1 mm Maß D: 0 / -0.2 mm |
WBAC, WBAB, WBAM, WBAA, WBAS | |
| Form frei wählbar | - Maß T konfigurierbar (0.1 mm Schritte) - Abmessungen konfigurierbar |
![]() |
Dicke T von 3 bis 10 mm |
Standardklasse | Maß T: ±0.1 mm | Maß V: von Form abhängig Maß D: von Form abhängig |
KWSC, KWSB, KWSM, KWSS | |
| Hülse | Rohrhülse (mit Schweißnaht am Innendurchmesser) |
- Maß L konfigurierbar (0.5 mm Schritte) - Abmessungen in Abhängigkeit von L wählbar |
![]() |
Maß L von 6 bis 200 mm in 0.5 mm Schritten |
Standardklasse (Präzisionsklasse für Maß L als Option möglich) |
Maß L: ±0.2 mm Toleranzwechsel von ±0.2 mm auf ±0.05 mm möglich mit (LKC) |
Maß D: Toleranz nicht angegeben Maß d: Toleranz nicht angegeben +H10 |
SGP, SGPBB, STPG, STPGB, STPGH, STPGHB |
| Distanzhülse (Stahl gerollt) |
- Maß L wählbar - Abmessungen in Abhängigkeit von L wählbar |
![]() |
Maß L von 3 bis 30 mm |
- | Maß L: ±0.05 mm (für 3, 4, 5, 8, 10 mm) Maß L :±0.1 mm (für 12, 15, 20 mm) Maß L: ±0.15 mm (für 30 mm) |
Maß D: Toleranz nicht angegeben Maß d: Toleranz nicht angegeben |
SMKB | |
| Simultan geschliffne Distanzhülsen (mind. 2 Stück) |
- Maß L konfigurierbar (0.1 mm Schritte) - Abmessungen in Abhängigkeit von L konfigurierbar |
![]() |
Maß L von 1 bis 100 mm in 0.1 mm Schritten |
- | Maß L: ±0.05 mm Bearbeitung in einer Aufspannung Toleranz Maß L: ±0.05 mm pro Aufspannung |
Maß V: 0.3 mm / 0.1 mm Maß D: 0 / -0.2 mm |
DWSSB, DWSSM, DWSSS, DWSSKB, DWSSKM | |
| Mit Bund / abgesetzt | - Maß L konfigurierbar (0.1 mm Schritte) - Abmessungen in Abhängigkeit von L konfigurierbar |
![]() |
Maß - L von 1 bis 50 mm in 0.1 mm Schritten Maß - T von 1 bis 20 mm in 0.1 mm Schritten |
- | Maß L: 0/-0.1 mm Maß T: ±0.05 mm |
Maß H: 0 / -0.2 mm Maß V: H7 Maß D: h7 |
DCLB, DCLM, DCLS | |
| Maß L:+0.1 mm /0 Maß T: ±0.05 mm |
Maß H: 0 / -0.2 mm Maß V: H7 Maß D: h7 |
MCLB, MCLM, MCLS | ||||||
| Mit Bund / abgesetzt Maß T Standardisiert |
- Maß L konfigurierbar (0.1 mm Schritte) - Abmessungen D und V in Abhängigkeit von L wählbar |
![]() |
Maß L von 10 bis 100 mm in 0.1 mm Schritten |
Standardklasse | Maß L: 0 / -0.3 mm Maß T: 5 mm ±0.1 mm |
Maß H: 0 / -0.2 mm Maß V: 0.3 mm / 0.1 mm Maß D: 0 / -0.2 mm |
TCLB, TCLM, TCLA, TCLSS,FTCLS | |
| Mit Bund / abgesetzt | - Maß L konfigurierbar (0.1 mm Schritte) - Abmessungen in Abhängigkeit von L konfigurierbar |
![]() |
Maß L von 10 bis 100 mm in 0.1 mm Schritten |
Standardklasse | Maß L: 0 / -0.3 mm Maß T: ±0.1 mm |
Maß H: 0 / -0.2 mm Maß V: 0.3 mm / 0.1 mm Maß D: 0 / -0.2 mm |
FTCLC, FTCLB, FTCLM, FTCLBB, FTCLA, FTCLAB, FTCLSS, FTCLCH, FTCLBH, FTCLMH, FTCLSK, FTCLSH | |
| Präzisionsklasse | Maß L: ±0.01 mm Maß T: ±0.01 mm |
Maß H: 0 / -0.2 mm Maß V: 0.3 mm / 0.1 mm Maß D: 0 / -0.2 mm |
FTCLMC, FTCLMB, FTCLMM, FTCMSH | |||||
| Dünnwandige Metallhülse | - Maß L konfigurierbar (0.5 mm Schritte) - Abmessung V und T wählbar |
![]() |
Maß L von 3 bis 20 mm in 0.5 mm Schritten |
- | Maß L: ±0.05 mm (von 3.0 bis 10.0 mm) Maß L: ±0.1 mm (von 10.5 bis 20.0 mm) |
Maß V: 0.3 mm / 0.1 mm Maß D: 0 / -0.2 mm |
TASC | |
| Metallhülse | - Maß L wählbar - Abmessung V und D in Abhängigkeit von L wählbar |
![]() |
10, 12, 15, 20, 25, 30, 35 mm | Standardklasse | Maß L: 0 / -0.1 mm | Maß V: 0.3 mm / 0.1 mm Maß D: 0 / -0.2 mm |
KNCLB, KNCLM, KNCLSS | |
| Metallhülse | - Maß L konfigurierbar (0.1 mm Schritte) - Abmessung V und D in Abhängigkeit von L wählbar |
![]() |
Maß L von 10 bis 100 mm in 0.1 mm Schritten |
Standardklasse | Maß L: 0 / -0.1 mm | Maß V: 0.3 mm / 0.1 mm Maß D: 0 / -0.2 mm |
NCLC, NCLB, NCLM, NCLA, NCLSS | |
| Präzisionsklasse | Maß L: ±0.01 mm | Maß V: 0.3 mm / 0.1 mm Maß D: 0 / -0.2 mm |
ACSC, ABSC, AMSC, AASC, SASC | |||||
| Metallhülse | - Maß L konfigurierbar (0.1 mm Schritte) - Abmessung V und D in Abhängigkeit von L wählbar |
![]() |
Maß L von 10 bis 100 mm in 0.1 mm Schritten |
Standardklasse | Maß L: 0 / -0.1 mm | Maß V: 0.3 mm / 0.1 mm Maß D: 0 / -0.2 mm |
FNCL, FNCLC, FNCLB, FNCLM, FNCLR, FNCLBB, FNCLA, FNCLAB, FNCLSS, FNCLSSR | |
| Präzisionsklasse | Maß L: ±0.01 mm | Maß V: 0.3 mm / 0.1 mm Maß D: 0 / -0.2 mm |
FAC, FACS, FABSC, FAMSC, FARSC, FAASC, FSASC, FSASCR | |||||
| Metallhülse - Innen-Ø / Außen-Ø Toleranz wählbar - L Maß konfigurierbar |
- Maß L konfigurierbar (0.1 mm Schritte) - Abmessung V und D in Abhängigkeit von L konfigurierbar -Toleranz für D und V wählbar |
![]() |
Maß L von 10 bis 100 mm in 0.1 mm Schritten |
Standardklasse | Maß L: 0 / -0.1 mm | Maß V wählbar: H=H7 / N=(0.3/ 0.1) mm / X=(0.2-0) mm Maß D wählbar: G=g6 mm / H=h7 / N=(-0.1 / -0.3) mm / X=(0 / -0.2) mm |
SNCC, SNCB, SNCM, SNCS | |
| Präzisionsklasse | Maß L: ±0.01 mm | Maß V wählbar: H=H7 / N=(0.3 / 0.1) mm / X=(0.2-0) mm Maß D wählbar: G=g6 / H=h7 / N=(-0.1 / -0.3) mm / X=(0 / -0.2) mm |
SNMC, SNMB, SNMM, SNMS | |||||
| Metallhülse gehärtet - L- Maß konfigurierbar |
- Maß L konfigurierbar (0.1 mm Schritte) - Abmessung V und D in Abhängigkeit von L wählbar |
![]() |
Maß L von 10 bis 100 mm in 0.1 mm Schritten |
Standardklasse | Maß L: 0 / -0.1 mm | Maß V: 0.3 mm / 0.1 mm Maß D: 0 / -0.2 mm |
NCLCH, NCLBH, NCLMH, NCLSSH | |
| Präzisionsklasse | Maß L: ±0.01 mm | Maß V: 0.3 mm / 0.1 mm Maß D: 0 / -0.2 mm |
ASH, ASC, PASC, SASCH | |||||
| Metallhülse gehärtet - L Maß konfigurierbar - V Maß konfigurierbar - D Maß konfigurierbar |
- Maß L konfigurierbar (0.1 mm Schritte) - Abmessung V und D in Abhängigkeit von L konfigurierbar |
![]() |
Maß L von 10 bis 100 mm in 0.1 mm Schritten |
Standardklasse | Maß L: 0 / -0.1 mm | Maß V: 0.3 mm / 0.1 mm Maß D: 0 / -0.2 mm |
FNCLCH, FNCLBH, FNCLMH, FNCSK, FNCSKB, FNCSKM, FNCLSH | |
| Präzisionsklasse | Maß L: ±0.01 mm | Maß V: 0.3 mm / 0.1 mm Maß D: 0 / -0.2 mm |
FAS, FASC, FPASC, FASK, FASKB, FASKM, FSASCH | |||||
























