JIS und DIN Innensechskantschrauben - Ein Vergleich
Innensechskantschrauben sind ein unverzichtbares Element bei der Montage und Konstruktion von Maschinen und Anlagen. Sie werden weltweit eingesetzt, wobei jedes Land seine eigene Norm für die Größe, das Gewinde und die Materialien hat, die verwendet werden. Eine der beliebtesten Normen ist die japanische Norm (JIS). In diesem Blog-Beitrag werden wir uns ausführlich mit Innensechskantschrauben und der japanischen Norm JIS befassen.
Was sind Innensechskantschrauben?
Innensechskantschrauben sind eine spezielle Art von Schrauben, die eine sechskantige Nut auf der Kopfseite haben. Sie werden hauptsächlich zum Befestigen von Elementen und Komponenten verwendet, wie z. B. Schalttafeln, Gehäusen oder Werkzeugen. Sie sind in einer Vielzahl von Größen und Materialien erhältlich und können für unterschiedliche Anwendungen verwendet werden.
- (a) - Die Schraubenenden sind gemäß JIS B 1003 zu fasen. Für M4 oder weniger kann jedoch eine raue Spitze verwendet werden.
- (b) - Unvollständige Gewindelänge an der Schraubenspitze u≤2P.
- (c) - Die Mündung des Sechskantlochs kann eine leichte Abrundung oder Abschrägung aufweisen.
- (d) - Gilt für diejenigen, für die ein Mindestwert von ℓs angegeben ist.
- (e) - Sie kann auf einer ebenen Fläche eingraviert werden.
- (f) - Die Ecken der Oberseite des Kopfes sind nach Ermessen des Herstellers abzurunden oder abzuschrägen.
- (g) - Die Ecken des Kopfsitzes müssen abgerundet oder bis zu dw abgeschrägt sein und dürfen keine Grate oder ähnliches aufweisen.
- (h) - Im Falle des Schlitzens darf die verbleibende Bohrung nicht mehr als 1/3 der Länge der Sechskantseite (e/2) betragen.
- (i) - Gibt die Position an, von der aus dw gemessen wird.
Innensechskantschrauben optimal und sicher einsetzen
In Kombination mit Muttern und Unterlegscheiben lassen sich Innensechskantschrauben noch sicherer befestigen – so wird gewährleistet, dass alle Bauteile fest miteinander verbunden sind und keine Bewegung oder Vibration entstehen kann. Die Mutter sorgt dafür, dass die Schraube fest an ihrem Platz bleibt, während die Unterlegscheibe das Gewicht gleichmäßig verteilt und so ein Abrutschen oder Ausleiern des Materials verhindert.
Bei der Auswahl von Muttern und Unterlegscheiben ist darauf zu achten, dass diese in Größe sowie Material zur verwendeten Schraube passen. So gewährleistet MISUMI, dass alles perfekt zusammenpasst und keine Schwachstellen entstehen.
Vorteile der japanischen Norm JIS
Die japanische Norm (JIS) ist ein Standardsystem, das die Größen, das Gewinde und die Materialien von Innensechskantschrauben festlegt. Diese Norm wird von der japanischen Industrie- und Handelskammer (JIC) für die Herstellung und den Verkauf von Schrauben in Japan verwendet.
Die japanische Norm JIS hat einige Vorteile gegenüber anderen Normen. Zum Beispiel sind die Größen und Gewinde der Schrauben sehr genau, sodass sie für eine Vielzahl von Anwendungen verwendet werden können. Außerdem sind die Materialien, die für die Herstellung der Schrauben verwendet werden, hochwertig und langlebig.
Abmessungen von Zylinderschrauben mit Innensechskant (Grobgewinde)
| Gewindebezeichnung d | M1.6 | M2 | M2.5 | M3 | M4 | M5 | M6 | M8 | ||||||||||||||||||||||||||||||||||||||||||||||||||||||||||||||||||||||||||||||||||||||||||||||||||
|---|---|---|---|---|---|---|---|---|---|---|---|---|---|---|---|---|---|---|---|---|---|---|---|---|---|---|---|---|---|---|---|---|---|---|---|---|---|---|---|---|---|---|---|---|---|---|---|---|---|---|---|---|---|---|---|---|---|---|---|---|---|---|---|---|---|---|---|---|---|---|---|---|---|---|---|---|---|---|---|---|---|---|---|---|---|---|---|---|---|---|---|---|---|---|---|---|---|---|---|---|---|---|---|---|---|---|
| P, Schraubensteigung | 0.35 | 0.4 | 0.45 | 0.5 | 0.7 | 0.8 | 1 | 1.25 | ||||||||||||||||||||||||||||||||||||||||||||||||||||||||||||||||||||||||||||||||||||||||||||||||||
| bb) | Referenz | 15 | 16 | 17 | 18 | 20 | 22 | 24 | 28 | |||||||||||||||||||||||||||||||||||||||||||||||||||||||||||||||||||||||||||||||||||||||||||||||||
| dk | Maximum c) | 3 | 3.8 | 4.5 | 5.5 | 7 | 8.5 | 10 | 13 | |||||||||||||||||||||||||||||||||||||||||||||||||||||||||||||||||||||||||||||||||||||||||||||||||
| Maximum d) | 3.14 | 3.98 | 4.68 | 5.68 | 7.22 | 8.72 | 10.22 | 13.27 | ||||||||||||||||||||||||||||||||||||||||||||||||||||||||||||||||||||||||||||||||||||||||||||||||||
| Minimum | 2.86 | 3.62 | 4.32 | 5.32 | 6.78 | 8.28 | 9.78 | 12.73 | ||||||||||||||||||||||||||||||||||||||||||||||||||||||||||||||||||||||||||||||||||||||||||||||||||
| da | Maximum | 2 | 2.6 | 3.1 | 3.6 | 4.7 | 5.7 | 6.8 | 9.2 | |||||||||||||||||||||||||||||||||||||||||||||||||||||||||||||||||||||||||||||||||||||||||||||||||
| ds | Maximum | 1.6 | 2 | 2.5 | 3 | 4 | 5 | 6 | 8 | |||||||||||||||||||||||||||||||||||||||||||||||||||||||||||||||||||||||||||||||||||||||||||||||||
| Minimum | 1.46 | 1.86 | 2.36 | 2.86 | 3.82 | 4.82 | 5.82 | 7.78 | ||||||||||||||||||||||||||||||||||||||||||||||||||||||||||||||||||||||||||||||||||||||||||||||||||
| e e),f) | Minimum | 1.733 | 1.733 | 2.303 | 2.873 | 3.443 | 4.583 | 5.723 | 6.863 | |||||||||||||||||||||||||||||||||||||||||||||||||||||||||||||||||||||||||||||||||||||||||||||||||
| ℓf | Maximum | 0.34 | 0.51 | 0.51 | 0.51 | 0.6 | 0.6 | 0.68 | 1.02 | |||||||||||||||||||||||||||||||||||||||||||||||||||||||||||||||||||||||||||||||||||||||||||||||||
| k | Maximum | 1.6 | 2 | 2.5 | 3 | 4 | 5 | 6 | 8 | |||||||||||||||||||||||||||||||||||||||||||||||||||||||||||||||||||||||||||||||||||||||||||||||||
| Minimum | 1.46 | 1.86 | 2.36 | 2.86 | 3.82 | 4.82 | 5.7 | 7.64 | ||||||||||||||||||||||||||||||||||||||||||||||||||||||||||||||||||||||||||||||||||||||||||||||||||
| r | Minimum | 0.1 | 0.1 | 0.1 | 0.1 | 0.2 | 0.2 | 0.25 | 0.4 | |||||||||||||||||||||||||||||||||||||||||||||||||||||||||||||||||||||||||||||||||||||||||||||||||
| s f)s | Bezeichnung | 1.5 | 1.5 | 2 | 2.5 | 3 | 4 | 5 | 6 | |||||||||||||||||||||||||||||||||||||||||||||||||||||||||||||||||||||||||||||||||||||||||||||||||
| Maximum | 1.58 | 1.58 | 2.08 | 2.58 | 3.08 | 4.095 | 5.14 | 6.14 | ||||||||||||||||||||||||||||||||||||||||||||||||||||||||||||||||||||||||||||||||||||||||||||||||||
| Minimum | 1.52 | 1.52 | 2.02 | 2.52 | 3.02 | 4.02 | 5.02 | 6.02 | ||||||||||||||||||||||||||||||||||||||||||||||||||||||||||||||||||||||||||||||||||||||||||||||||||
| t | Minimum | 0.7 | 1 | 1.1 | 1.3 | 2 | 2.5 | 3 | 4 | |||||||||||||||||||||||||||||||||||||||||||||||||||||||||||||||||||||||||||||||||||||||||||||||||
| v | Maximum | 0.16 | 0.2 | 0.25 | 0.3 | 0.4 | 0.5 | 0.6 | 0.8 | |||||||||||||||||||||||||||||||||||||||||||||||||||||||||||||||||||||||||||||||||||||||||||||||||
| dw | Minimum | 2.72 | 3.48 | 4.18 | 5.07 | 6.53 | 8.03 | 9.38 | 12.33 | |||||||||||||||||||||||||||||||||||||||||||||||||||||||||||||||||||||||||||||||||||||||||||||||||
| w | Minimum | 0.55 | 0.55 | 0.85 | 1.15 | 1.4 | 1.9 | 2.3 | 3.3 | |||||||||||||||||||||||||||||||||||||||||||||||||||||||||||||||||||||||||||||||||||||||||||||||||
| ||||||||||||||||||||||||||||||||||||||||||||||||||||||||||||||||||||||||||||||||||||||||||||||||||||||||||
| Gewindebezeichnung d | M10 | M12 | M14 | M16 | M20 | M24 | M30 | |||||||||||||||||||||||||||||||||||||||||||||||||||||||||||||||||||||||||||||||||||||||||||||||||||
|---|---|---|---|---|---|---|---|---|---|---|---|---|---|---|---|---|---|---|---|---|---|---|---|---|---|---|---|---|---|---|---|---|---|---|---|---|---|---|---|---|---|---|---|---|---|---|---|---|---|---|---|---|---|---|---|---|---|---|---|---|---|---|---|---|---|---|---|---|---|---|---|---|---|---|---|---|---|---|---|---|---|---|---|---|---|---|---|---|---|---|---|---|---|---|---|---|---|---|---|---|---|---|---|---|---|---|
| P, Schraubensteigung | 1.5 | 1.75 | 2 | 2 | 2.5 | 3 | 3.5 | |||||||||||||||||||||||||||||||||||||||||||||||||||||||||||||||||||||||||||||||||||||||||||||||||||
| b b) | Referenz | 32 | 36 | 40 | 44 | 52 | 60 | 72 | ||||||||||||||||||||||||||||||||||||||||||||||||||||||||||||||||||||||||||||||||||||||||||||||||||
| dk | Maximum c) | 16 | 18 | 21 | 24 | 30 | 36 | 45 | ||||||||||||||||||||||||||||||||||||||||||||||||||||||||||||||||||||||||||||||||||||||||||||||||||
| Maximum d) | 16.27 | 18.27 | 21.33 | 24.33 | 30.33 | 36.39 | 45.39 | |||||||||||||||||||||||||||||||||||||||||||||||||||||||||||||||||||||||||||||||||||||||||||||||||||
| Minimum | 15.73 | 17.73 | 20.67 | 20.67 | 29.67 | 35.61 | 44.61 | |||||||||||||||||||||||||||||||||||||||||||||||||||||||||||||||||||||||||||||||||||||||||||||||||||
| da | Maximum | 11.2 | 13.7 | 15.7 | 17.7 | 22.4 | 26.4 | 33.4 | ||||||||||||||||||||||||||||||||||||||||||||||||||||||||||||||||||||||||||||||||||||||||||||||||||
| ds | Maximum | 10 | 12 | 14 | 16 | 20 | 24 | 30 | ||||||||||||||||||||||||||||||||||||||||||||||||||||||||||||||||||||||||||||||||||||||||||||||||||
| Minimum | 9.78 | 11.73 | 13.73 | 15.73 | 19.67 | 23.67 | 29.67 | |||||||||||||||||||||||||||||||||||||||||||||||||||||||||||||||||||||||||||||||||||||||||||||||||||
| e e),f) | Minimum | 9.149 | 11.429 | 13.716 | 15.996 | 19.437 | 21.734 | 25.154 | ||||||||||||||||||||||||||||||||||||||||||||||||||||||||||||||||||||||||||||||||||||||||||||||||||
| ℓℓ | Maximum | 1.02 | 1.45 | 1.45 | 1.45 | 2.04 | 2.04 | 2.89 | ||||||||||||||||||||||||||||||||||||||||||||||||||||||||||||||||||||||||||||||||||||||||||||||||||
| k | Maximum | 10 | 12 | 14 | 16 | 20 | 24 | 30 | ||||||||||||||||||||||||||||||||||||||||||||||||||||||||||||||||||||||||||||||||||||||||||||||||||
| Minimum | 9.64 | 11.57 | 13.57 | 15.57 | 19.48 | 23.48 | 29.48 | |||||||||||||||||||||||||||||||||||||||||||||||||||||||||||||||||||||||||||||||||||||||||||||||||||
| r | Minimum | 0.4 | 0.6 | 0.6 | 0.6 | 0.8 | 0.8 | 1 | ||||||||||||||||||||||||||||||||||||||||||||||||||||||||||||||||||||||||||||||||||||||||||||||||||
| s f) | Bezeichnung | 8 | 10 | 12 | 14 | 17 | 19 | 22 | ||||||||||||||||||||||||||||||||||||||||||||||||||||||||||||||||||||||||||||||||||||||||||||||||||
| Maximum | 8.175 | 10.175 | 12.212 | 14.212 | 17.23 | 19.275 | 22.275 | |||||||||||||||||||||||||||||||||||||||||||||||||||||||||||||||||||||||||||||||||||||||||||||||||||
| Minimum | 8.025 | 10.021 | 12.032 | 14.032 | 17.05 | 19.065 | 22.065 | |||||||||||||||||||||||||||||||||||||||||||||||||||||||||||||||||||||||||||||||||||||||||||||||||||
| t | Minimum | 5 | 6 | 7 | 8 | 10 | 12 | 45427 | ||||||||||||||||||||||||||||||||||||||||||||||||||||||||||||||||||||||||||||||||||||||||||||||||||
| v | Maximum | 1 | 1.2 | 1.4 | 1.6 | 2 | 2.4 | 3 | ||||||||||||||||||||||||||||||||||||||||||||||||||||||||||||||||||||||||||||||||||||||||||||||||||
| dw | Minimum | 15.33 | 17.23 | 20.17 | 23.17 | 28.87 | 34.81 | 43.61 | ||||||||||||||||||||||||||||||||||||||||||||||||||||||||||||||||||||||||||||||||||||||||||||||||||
| w | Minimum | 4 | 4.8 | 5.8 | 6.8 | 8.6 | 10.4 | 13.1 | ||||||||||||||||||||||||||||||||||||||||||||||||||||||||||||||||||||||||||||||||||||||||||||||||||
| ||||||||||||||||||||||||||||||||||||||||||||||||||||||||||||||||||||||||||||||||||||||||||||||||||||||||||
ℓ, ℓs und ℓg
| Nominalschraube d | M1.6 | M2 | M2.5 | M3 | M4 | M5 | M6 | M8 | ||||||||||
|---|---|---|---|---|---|---|---|---|---|---|---|---|---|---|---|---|---|---|
| ℓ g) | ℓs und ℓg | |||||||||||||||||
| ℓs | ℓg | ℓs | ℓg | ℓs | ℓg | ℓs | ℓg | ℓs | ℓg | ℓs | ℓg | ℓs | ℓg | ℓs | ℓg | |||
| Länge (nominal) |
min. | max. | min. | max. | min. | max. | min. | max. | min. | max. | min. | max. | min. | max. | min. | max. | min. | max. |
| 2.5 | 2.3 | 2.7 | ||||||||||||||||
| 3 | 2.8 | 3.2 | ||||||||||||||||
| 4 | 3.76 | 4.24 | ||||||||||||||||
| 5 | 4.76 | 5.24 | ||||||||||||||||
| 6 | 5.76 | 6.24 | ||||||||||||||||
| 8 | 7.71 | 8.29 | ||||||||||||||||
| 10 | 9.71 | 10.29 | ||||||||||||||||
| 12 | 11.65 | 12.35 | ||||||||||||||||
| 16 | 15.65 | 16.35 | ||||||||||||||||
| 20 | 19.58 | 20.42 | 2 | 4 | ||||||||||||||
| 25 | 24.58 | 25.42 | 5.75 | 8 | 4.5 | 7 | ||||||||||||
| 30 | 29.58 | 30.42 | 9.5 | 12 | 6.5 | 10 | 4 | 8 | ||||||||||
| 35 | 34.5 | 35.5 | 11.5 | 15 | 9 | 13 | 6 | 11 | ||||||||||
| 40 | 39.5 | 40.5 | 16.5 | 20 | 14 | 18 | 11 | 16 | 5.75 | 12 | ||||||||
| 45 | 44.5 | 45.5 | 19 | 23 | 16 | 21 | 10.75 | 17 | ||||||||||
| 50 | 49.5 | 50.5 | 24 | 28 | 21 | 26 | 15.75 | 22 | ||||||||||
| 55 | 54.4 | 55.6 | 26 | 31 | 20.75 | 27 | ||||||||||||
| 60 | 59.4 | 60.6 | 31 | 36 | 25.75 | 32 | ||||||||||||
| 65 | 64.4 | 65.6 | 30.75 | 37 | ||||||||||||||
| 70 | 69.4 | 70.6 | 35.75 | 42 | ||||||||||||||
| 80 | 79.4 | 80.6 | 45.75 | 52 | ||||||||||||||
| 90 | 89.3 | 90.7 | ||||||||||||||||
| 100 | 99.3 | 100.7 | ||||||||||||||||
| Nominalschraube d | M10 | M12 | M14 | M16 | M20 | M24 | M30 | |||||||||
|---|---|---|---|---|---|---|---|---|---|---|---|---|---|---|---|---|
| ℓ g) | ℓs und ℓg | |||||||||||||||
| ℓs | ℓg | ℓs | ℓg | ℓs | ℓg | ℓs | ℓg | ℓs | ℓg | ℓs | ℓg | ℓs | ℓg | |||
| Länge (nominal) |
min. | max. | min. | max. | min. | max. | min. | max. | min. | max. | min. | max. | min. | max. | min. | max. |
| 10 | 9.71 | 10.29 | ||||||||||||||
| 12 | 11.65 | 12.35 | ||||||||||||||
| 16 | 15.65 | 16.35 | ||||||||||||||
| 20 | 19.58 | 20.42 | ||||||||||||||
| 25 | 24.58 | 25.42 | ||||||||||||||
| 30 | 29.58 | 30.42 | ||||||||||||||
| 35 | 34.5 | 35.5 | ||||||||||||||
| 40 | 39.5 | 40.5 | ||||||||||||||
| 45 | 44.5 | 45.5 | 5.5 | 13 | ||||||||||||
| 50 | 49.5 | 50.5 | 10.5 | 18 | ||||||||||||
| 55 | 54.4 | 55.6 | 15.5 | 23 | 10.25 | 19 | ||||||||||
| 60 | 59.4 | 60.6 | 20.5 | 28 | 15.25 | 24 | 10 | 20 | ||||||||
| 65 | 64.4 | 65.6 | 25.5 | 33 | 20.25 | 29 | 15 | 25 | 11 | 21 | ||||||
| 70 | 69.4 | 70.6 | 30.5 | 38 | 25.25 | 34 | 20 | 30 | 16 | 26 | ||||||
| 80 | 79.4 | 80.6 | 40.5 | 48 | 35.25 | 44 | 30 | 40 | 26 | 36 | 15.5 | 28 | ||||
| 90 | 89.3 | 90.7 | 50.5 | 58 | 45.25 | 54 | 40 | 50 | 36 | 46 | 25.5 | 38 | 15 | 30 | ||
| 100 | 99.3 | 100.7 | 60.5 | 68 | 55.25 | 64 | 50 | 60 | 46 | 56 | 35.5 | 48 | 25 | 40 | ||
| 110 | 109.3 | 110.7 | 65.25 | 74 | 60 | 70 | 56 | 66 | 45.5 | 58 | 35 | 50 | 20.5 | 38 | ||
| 120 | 119.3 | 120.7 | 75.25 | 84 | 70 | 80 | 66 | 76 | 55.5 | 68 | 45 | 60 | 30.5 | 48 | ||
| 130 | 129.2 | 130.8 | 80 | 90 | 76 | 86 | 65.5 | 78 | 55 | 70 | 40.5 | 58 | ||||
| 140 | 139.2 | 140.8 | 90 | 100 | 86 | 96 | 75.5 | 88 | 65 | 80 | 50.5 | 68 | ||||
| 150 | 149.2 | 150.8 | 96 | 106 | 85.5 | 98 | 75 | 90 | 60.5 | 78 | ||||||
| 160 | 159.2 | 160.8 | 106 | 116 | 95.5 | 108 | 85 | 100 | 70.5 | 88 | ||||||
| 180 | 179.2 | 180.8 | 115.5 | 128 | 105 | 120 | 90.5 | 108 | ||||||||
| 200 | 199.1 | 200.9 | 135.5 | 148 | 125 | 140 | 110.5 | 128 | ||||||||
Hinweis
- g - Der Nennlängenbereich im allgemeinen Verkehr liegt innerhalb des Rahmens der dicken Treppenlinie. Die schraffierten Teile müssen vollständig mit Gewinde versehen sein, und die Länge des unvollständigen Gewindeteils am unteren Ende des Halses darf 3P nicht überschreiten.
- Die Werte für die nicht schattierten Positionen beziehen sich auf die Werte ℓg und ℓs und basieren auf den folgenden Gleichungen
- ℓgmax=ℓnom-b
- ℓsmin=ℓgmax-5P
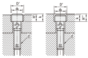
Abmessungen der Bohrungen und Schraubenlöcher für Innensechskantschrauben
| Gewindebezeichnung(d) | M3 | M4 | M5 | M6 | M8 | M10 | M12 | M14 | M16 | (M18) | M20 | (M22) | M24 | (M27) | M30 |
|---|---|---|---|---|---|---|---|---|---|---|---|---|---|---|---|
| ds | 3 | 4 | 5 | 6 | 8 | 10 | 12 | 14 | 16 | 18 | 20 | 22 | 24 | 27 | 30 |
| d’ | 3.4 | 4.5 | 5.5 | 6.6 | 9 | 11 | 14 | 16 | 18 | 20 | 22 | 24 | 26 | 30 | 33 |
| dk | 5.5 | 7 | 8.5 | 10 | 13 | 16 | 18 | 21 | 24 | 27 | 30 | 33 | 36 | 40 | 45 |
| D' | 6.5 | 8 | 9.5 | 11 | 14 | 17.5 | 20 | 23 | 26 | 29 | 32 | 35 | 39 | 43 | 48 |
| k | 3 | 4 | 5 | 6 | 8 | 10 | 12 | 14 | 16 | 18 | 20 | 22 | 24 | 27 | 30 |
| H' | 2.7 | 3.6 | 4.6 | 5.5 | 7.4 | 9.2 | 11 | 12.8 | 14.5 | 16.5 | 18.5 | 20.5 | 22.5 | 25 | 28 |
| H'' | 3.3 | 4.4 | 5.4 | 6.5 | 8.6 | 10.8 | 13 | 15.2 | 17.5 | 19.5 | 21.5 | 23.5 | 25.5 | 29 | 32 |
| d2 | 2.6 | 3.4 | 4.3 | 5.1 | 6.9 | 8.6 | 10.4 | 12.2 | 14.2 | 15.7 | 17.7 | 19.7 | 21.2 | 24.2 | 26.7 |