Linearkugellager - Auswahl-, Einbau- und Wartungshinweise für MISUMI Linearkugellager
Linearkugellager sind wichtige Komponenten in zahlreichen Maschinenbauanwendungen. Die Funktion von Linearkugellagern ist es, eine präzise und reibungsarme Bewegung entlang einer Achse zu ermöglichen. Dieser Artikel liefert wichtige Hinweise zu den Themen Auswahl, Einbau und Wartung von Linearkugellagern, damit Sie garantiert das passende Lager für Ihre Anwendung finden und auch den größtmöglichen Nutzen daraus ziehen können.
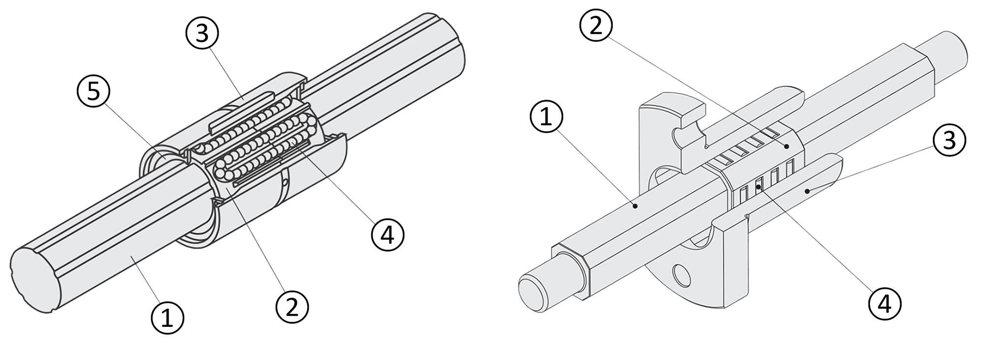
Was ist ein Linearkugellager und wie ist es aufgebaut?
Linearkugellager sind Wälzlager mit einem besonderen Aufbau. Auch sie funktionieren durch abrollende Wälzkörper (Kugeln). Im Allgemeinen verbindet man mit dem Begriff Kugellager ein Bauteil, welches einen durch Kugeln (Rollkörper) getrennten, Innen- und Außenring hat, und zur Lagerung eines rotierenden Elements dient. Eine Linearführung mit Linearkugellager dient jedoch der möglichst reibungsarmen Führung einer geradlinigen Bewegung entlang einer zylindrischen Welle. Zu diesem Zweck ist in einem Linearkugellager ein sogenannter Kugelumlauf verbaut. Der Kugelumlauf ermöglicht es den Kugeln, linear zur Welle abzurollen. Am Ende der abrollenden Laufbahn werden die Kugeln dann über einen nicht mit der Welle in Kontakt stehenden Umlauf zurückgeführt. Linearkugellager sind für eine hochpräzise, rein lineare Bewegung ausgelegt und können keine Drehbewegungen aufnehmen.
- (1) Seitendichtring
- (2) Außenzylinder
- (3) Kugelkäfig
- (4) Stahlkugeln
- (MX) Schmierstoffeinheit
Linearkugellager werden in Verbindung mit Linearachsen verwendet. Der lineare Bewegungsmechanismus verwendet meist Stahlrollkugeln zur unbegrenzten Linearbewegung. Die Stahlkugeln laufen kontinuierlich innerhalb der vorgegebenen Laufbahn des Kugelkäfigs und rollen dabei auf der Oberfläche der Linearwelle ab. Im Vergleich zu Gleitlagern vollziehen Linearkugellager Linearbewegung mit geringerer Reibung und hoher Genauigkeit. Linearkugellager finden bei vielen Anwendungen Einsatz, wie z.B. Beförderungseinrichtungen und Herstellungsanlagen von Halbleitern.
Neben Linearkugellagern gibt es aber auch anderen Formen von Wälzlagern, welche lineare Bewegungen ermöglichen. Dazu zählen beispielsweise Kugelkäfigführungen oder Nadelführungen. Bei Kugelkäfigführungen befinden sich die Kugeln in einem Käfig, welcher sich an den Innen- und Außenflächen abrollt und verschiebt. Durch den Käfig minimiert sich aber auch der Weg, weshalb diese Form von Wälzlagern nur für kurze Linearbewegungen geeignet ist. Nadelführungen benötigen eine Führungswelle mit Planflächen zum Abrollen der Wälzkörper. Sie sind ähnlich der Kugelkäfigführung aufgebaut, sind aber aufgrund der nadelförmigen Wälzkörper in der Lage, höhere Kräfte aufzunehmen. Die Nadelform verhindert gleichzeitig ein Verdrehen. Dennoch eignen sich auch Nadelführungen nur für kurze Linearbewegungen. Beide Formen haben keinen Umlauf.
Prinzipiell sind Linearkugellager nicht verdrehsicher. Drehmomentübertragende Alternativen dazu sind Kugelnutwellen, auch Drehmomentwelle genannt und die Nadelführung. Da Zahnwellen zwar auch als Führungswelle genutzt werden können, aber keine wälzkörperbasierten Wellen sind, werden diese hier nicht betrachtet.
Vorüberlegung zur Auswahl von Linearkugellagern
Eine grundlegende Frage bei der Auswahl von Linearkugellagern ist: Welche Wellenform liegt vor? Linearkugellager sind für den Einsatz mit hochpräzisen Rundwellen gedacht. In der Regel werden zwei parallele Linearwellen verwendet, um eine mögliche Radialverdrehung der Linearkugellager konstruktiv zu unterbinden. Alternativ können für die Verwendung bei höheren Tragzahlen oder geringem Platzangebot auch Profilschienen mit Laufschlitten eingesetzt werden.
Die nächste Frage, die sich stellt, ist: Wie wird das Linearkugellager eingebunden? Das hat Einfluss auf die Form. Linearkugellager mit Flansch können z.B. direkt am Gehäuse befestigt werden. Der Flansch sorgt für stabilen Halt und gleichmäßige Kraftverteilung. Linearlager mit Gehäuse bieten einen höheren Schutz vor Umwelteinflüssen als Linearlager ohne Gehäuse, sind jedoch auch weniger flexibel. Gehäuse lassen sich leichter montieren und haben meist einen fest definierten Anschlag der das Ausrichten erleichtert.
Für Linearkugellager gibt es bei MISUMI drei Montagemöglichkeiten:
- Ohne Flansch: platzsparende Montage, ideal für kompakte Konstruktionen und enge Einbausituationen
- mit Flansch: rund / quadratisch / Kompaktflansch (bietet Flexibilität bei Positionierung und Befestigung)
- mit Blockform / Gehäuse (bietet Stabilität und dadurch hohe Belastbarkeit)
In der nachfolgenden Tabelle erhalten Sie einen Überblick über erhältliche Ausführungen und Formen, z.B. mit Flansch oder offen:
| Form | |||||||
|---|---|---|---|---|---|---|---|
| Ausführung | Mit Flansch (Rundflansch, Kompaktflansch, Quadratflansch) |
Gerade | Linearkugellager- Einheiten (Buchse im Gehäuse) |
||||
| Flansch an Stirnfläche (bündig) | Flansch mit Führung (zurückgesetzt) | Flansch Mittig | Durchgehend zylindrisch | Breites Gehäuse | Hohe Blöcke | Lagerbock | |
| Einfach | ![]() |
![]() |
![]() |
![]() |
![]() |
![]() |
|
| Doppelt | ![]() |
![]() |
![]() |
![]() |
![]() |
![]() |
![]() |
| Lang | ![]() |
![]() |
|||||
Im letzten Schritt sollten folgende Einflussgrößen betrachtet werden:
- Umgebungsbedingungen
- Tragzahl und geforderte Geschwindigkeit
- Präzision
- Chemische Beständigkeit
- Anzahl der Laufbahnen
- Art der Last
Je nach Art der Last kann man z.B. zwischen kurzen bzw. einfachen Linearkugellagern oder doppelten Linearkugellagern wählen. Erstere eignen sich eher für leichte Lasten, nicht aber bei Anlegen einer großen Momentlast (versetzten Last). Hier sollte auf doppelte / mehrfache Linearkugellager zurückgegriffen werden. Ganz allgemein eignen sich Linearkugellager nicht für Drehbewegungen. Bei oszillierenden Bewegungen sollte z.B. auf eine Nadelführung zurückgegriffen werden. Bei auftretenden Stoßbelastungen oder in Umgebungen mit erhöhtem Schmutzaufkommen können auch Gleitlager eine mögliche Alternative zu Linearkugellagern sein. Auch die Auswahl des Materials der Rollkörper richtet sich nach der Anwendung. Stahlkugeln haben eine hohe Härte, sind robust und können hohe Lasten tragen. Gleichzeitig sind sie kostengünstig, aber auch anfällig für Korrosion. In feuchter Umgebung eignen sich daher vorrangig Linearkugellager mit Rollkörpern aus Edelstahl. Entscheidend für die Vorauswahl sind demnach die Tragfähigkeit und die Resistenz gegen äußere Einflüsse. Die Genauigkeit ist ein weiterer Faktor, den es zu berücksichtigen gilt. In Hochpräzisionsanwendungen darf der Lagertoleranzbereich nicht zu groß sein, der Einsatz spezialisierter, kostenintensiverer Linearkugellager empfiehlt sich. Soll die Linearführung nur einen kurzen Verfahrweg abdecken, können auch Kugelkäfigführungen eine Alternative sein.
In Anwendungen mit geringerem Präzisionsanspruch kann oft auch die Verwendung eines kosteneffizienten Artikels eine gute Wahl sein. Eine Evaluation der benötigten Genauigkeit ist ratsam. Gegebenenfalls lassen sich durch den Einsatz von C-Value-Artikeln zusätzliche Kosten sparen. Im MISUMI-Shop lassen sich z.B. kosteneffiziente Linearlager suchen. Durch den Suchbegriff "kosteneffizient" kann nach diesen Varianten über die Sucheingabe gesucht werden. Mehr Informationen dazu finden Sie auch in unserem Artikel Gleitlager - Kosteneinsparung durch kosteneffiziente Produkte.
Es gibt z.B. folgende kosteneffiziente Linearlager:
Hinweise zum Linearkugellager-Einbau
Zur vollen Funktionserfüllung ist ein präziser Einbau der Linearkugellager unabdinglich. Wichtig ist vor allem auch die exakte Ausrichtung der Lagerkomponenten, um ein gleichmäßiges Laufverhalten zu gewährleisten. Ein gewaltsames, schräges Einführen der Achse in das Lager ist unbedingt zu vermeiden, da sonst der Kugelkäfig beschädigt werden kann.
Nachfolgend werden verschiedene Montagevarianten vorgestellt:
Montage mit Anschlagplatten und Distanzstück
Die Distanzhülse ist dafür da, den durch die Bauteiltiefe entstehenden Zwischenraum zwischen den beiden Lagern passgenau zu füllen. Anschläge verhindern das Verrutschen.
Anschlagplatten ermöglichen flexible Konstruktionen unabhängig von der Gehäuselänge. Linearkugellager und Wellen können so auch dicht an den Stirnflächen installiert werden. Anschlagplatten können auch zum Arretieren von Linearkugellagern genutzt werden.
Montage mit Sicherungsringen
Gerade Linearkugellager sind meist mit einer oder zwei Ringnuten ausgestattet. Wird in die Ringnut ein Sicherungsring eingesetzt, kann dieser zur Sicherung des auf Passung im Gehäuse sitzenden Lagers genutzt werden. Wird der Sicherungsring in eine Ringnut am Gehäuse eingebracht, kann er als seitlicher Anschlag dienen und das Linearkugellager so sicher positionieren. Der Einsatz von Sicherungsringen eignet sich bei Platzmangel und mittleren Belastungen.
Montage mit Anschlägen
Anschläge dienen ebenfalls der festen Positionierung des Lagers. Im ersten Schritt wird das Linearkugellager in die entsprechenden Gehäuse-Passbohrungen eingesetzt. Anschließend werden Anschläge und Gehäuse miteinander verschraubt, wodurch das Linearkugellager durch die Anschläge so lang verschoben wird, bis die Anschläge an der Gehäuseaußenwand anliegen. Sollte ein weiterer Längenausgleich nötig sein, können auch zusätzliche Ausgleichs- und Distanzelemente verwendet werden.
Montage mit Flansch
Linearkugellager mit Flansch zu montieren, ist eine einfache, aber stabile Option. Die integrierte Flanschplatte garantiert eine hohe Steifigkeit und zuverlässige Befestigung. Bei der Montage ist unbedingt auf die Richtung (Durchgangsloch oder Gewindebohrung) sowie die Passflächen zu achten. Es gibt immer auch eine Passfläche für die radiale Ausrichtung des Linearkugellagers.
Für die optimale Einbindung der Linearkugellager stehen diese in den Ausführungen Flansch Stirnfläche, Flansch Mitte und Flansch mit Führung sowie unterschiedlichen Flanschausführungen zur Auswahl.
Praxistipp: Einfache Fixierung mit gekoppeltem Klemmring und Klemmhebeln
Das Verwenden eines Klemmrings oder Klemmhebels macht die Fixierung besonders einfach. Gerade bei der Ausrichtung z.B. eines Fixiertisches für Materialien bei manuellen Montagen kann dies sehr hilfreich sein. Der Klemmring ermöglicht eine einfache und sichere Fixierung der Position des Materialtisches durch das Festklemmen der Linearkugellager auf der Welle per Hand ohne dabei die Linearwelle zu beschädigen.
Wartung von Linearkugellagern
Linearkugellager von MISUMI werden mit Rostschützöl behandelt. Das Rostschutzöl beeinträchtigt die Lagerschmierfette nicht. Außerdem kann eine MX-Schmiereinheit für permanente Schmierung während des Betriebs verwendet werden. Nachfolgend wird die Wirksamkeit der MX-Schmiereinheiten aufgezeigt und weitere Wartungshinweise gegeben.
Verwendung von MX-Schmiereinheiten
Mit MX-Schmiereinheiten lässt sich die Schmierung dosieren.
An der Schmierstoffeinheit MX wartungsfrei wurde ein Dauertest durchgeführt.
- LMU12: Kein Schmiermittel / Standard
- LMU-MX12: Fett- und Schmierstoffeinheit MX
- Verfahrweg in km angegeben
Folgende Testbedingungen wurden angewandt: Als Probe wurde ein Linearkugellager LMU12 mit Rostschutzöl und ein Linearkugellager LMUX12 mit Schmierstoffeinheit MX verwendet. Weitere Parameter:
- Wirksame Last: 206 N (50 % der dynamischen Tragzahl von 412 N)
- Durchschnittsgeschwindigkeit: 42 m /min (0.7 m/s)
- Schmierstoff: Schmierfett, nur Erstbefüllung (nur LMU-MX12)
- Wellenwerkstoff: EN 1.3505 Äquiv. 58HRC
- Betrieb: 24 Stunden, Dauerbetrieb
Das Ergebnis des Dauertests: Bei einer wirksamen Testbelastung von 50% der Traglast, konnte die Ausführung mit Schmierstoffeinheit MX eine um 2.5-mal längere Dauerleistung als ohne die Schmierstoffeinheit MX aufweisen. Es handelt sich hierbei um Referenzwerte, die nicht als Herstellergarantie gelten.
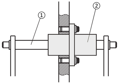
Montagefehler - Flansch und Bohrungen mit Senkung oder Durchgangsloch
Die nachfolgende Abbildung zeigt die korrekte und fehlerhafte Handhabung von Linearkugellagern mit Flansch und Schmierstoffeinheit:
MX Schmierstoffeinheiten dürfen keinesfalls, wie hier in Abbildung (2) dargestellt, als Führung verwendet werden. Das kann das Gehäuse beschädigen. Nutzen sie stattdessen ein Linearkugellager mit Flansch und Führung wie hier als Montagebeispiel in Bild (3) dargestellt oder wechseln zu einer Ausführung mit stirnseitigem Flansch, welche als Montagebeispiel in Bild (1) dargestellt wird. Ein Auseinanderbauen von MX Schmierstoffeinheit und Linearkugellager verursacht Fehler und sollte vermieden werden.
Allgemeine Hinweise zur Schmierung
Die Kugelreihen innerhalb der Linearkugellager sollten vor und während der Verwendung gefettet werden. Dadurch reduziert sich Reibung und Verschleiß. Durch das Fetten entsteht eine Schicht zwischen den Kugeln und Abrollflächen, die gleichzeitig auch ein Festfressen verhindert. Für spezifische Anforderungen stehen die Schmierausführungen L, G und H zur Verfügung, die auf unterschiedliche Einsatzbedingungen und Belastungen abgestimmt sind.
Auch eine LTBC-Beschichtung verlängert die Lebensdauer von Linearkugellager und Linearwelle. Die LTBC-Beschichtung (Low Temperature Black Chrome Plating) schützt vor Korrosion und minimiert Reflexion. Erfahren Sie mehr dazu in unserem Artikel Reflexionsarme Oberflächen - LTBC und weitere Möglichkeiten.














