Übertragung von Drehbewegungen - Grundlagen zu Kupplungen
Wenn Wellen und Achsen in einer Maschine miteinander gekoppelt sind, gibt es immer eine Fehlausrichtung zwischen den Mittelpunkten der Wellen. Die Kupplung gleicht diesen Ausrichtungsfehler durch die Elastizität des Bauteils oder des mechanischen Elements bei der Drehung oder Kraftübertragung aus. Ob Sie ein erfahrener Ingenieur sind oder gerade erst in die Welt des Maschinenbaus eintauchen, dieser Artikel bietet Ihnen einen umfassenden Einblick in die Grundlagen von Kupplungen.
Funktion von Kupplungen
Kupplungen sind Komponenten in der Antriebstechnik, die zwei Maschinenelemente miteinander verbinden. Sie dienen der Übertragung von Drehbewegungen von einem treibenden Bauteil auf ein getriebenes Bauteil. Durch die Verwendung von Wellenkupplungen können Maschinenbauer sicherstellen, dass Drehmomente effektiv und sicher übertragen werden.
Wenn Wellen und Achsen in einer Maschine miteinander gekoppelt sind, gibt es immer eine Fehlausrichtung zwischen den Mittelpunkten der Wellen. Die Kupplung gleicht diesen Ausrichtungsfehler durch die Elastizität des Bauteils oder des mechanischen Elements bei der Drehung oder Kraftübertragung aus.
Die Aufgabe der Kupplung besteht darin, Ausrichtungsfehler auszugleichen und eine übermäßige Belastung des Motors zu verhindern.
Im Maschinenbau werden vorwiegend nicht schaltbare, formschlüssige Kupplungen verwendet, die mit elastischen kunststoff- oder federbasierten Elementen versehen sein können, um Ausrichtungsfehler auszugleichen oder Vibrationen und Schocks zu dämpfen.
- (1) - Motor
- (2) - Drehung des Motors
- (3) - Kupplung
- (4) - Drehung der Welle
- (5) - Polschraube
Kupplungen mit Ausgleichsfunktion
Kupplungen mit Ausgleichsfunktion sind eine spezielle Art von Kupplungen, die dazu dienen, Ausrichtungsfehler zwischen treibendem und getriebenem Bauteil auszugleichen. Diese Kupplungen sind besonders wichtig, um die Übertragung von Drehbewegungen in diesen Fällen zu gewährleisten und Schäden an den Maschinenelementen zu vermeiden.
Je nach Eigenschaften der Kupplung können verschiedene Arten von Ausrichtungsfehlern (Axialspiel, Radialversatz, Winkelversatz) kompensiert werden.
Es gibt verschiedene Ausführungen von Kupplungen mit Ausgleichsfunktion, darunter Schlitzkupplung, Scheibenkupplung, Oldham Kupplung, Klauenkupplung, Balgkupplung und Kupplungen mit Schwingungsdämpfern. Trotz ihrer unterschiedlichen Bauweise ist allen Kupplungen mit Ausgleichsfunktion gemein, dass sie über elastische Materialien oder flexible Teilelemente verfügen, mit deren Hilfe die Ausrichtungsfehler ausgeglichen werden.
| Klein | Groß | |
|---|---|---|
| Radialversatz | ![]() |
![]() |
| Winkelversatz | ![]() |
![]() |
Starre Kupplungen
Eine weitere Form von Kupplungen sind starre Kupplungen. Starre Kupplungen haben keine Ausgleichsfunktion und dienen der Verbindung zweier Maschinenelemente. Sie sind besonders geeignet für Anwendungen, bei denen eine Ausrichtung der miteinander zu verbindenden Bauteile sehr präzise ist oder kleinere Ausrichtungsfehler vernachlässigt werden können.
Starre Kupplungen bestehen aus zwei Befestigungsvorrichtungen (z. B. Nabenklemmungen) und einem soliden Element dazwischen, das die beiden Bauteile verbindet. Die Kupplung sorgt für eine direkte Übertragung von Drehmomenten zwischen den Wellen und ist daher ideal für Antriebsanwendungen, bei denen eine hohe Präzision und Torsionssteifigkeit erforderlich ist.
Obwohl starre Kupplungen keine Ausgleichsfunktion haben, bieten sie dennoch einige Vorteile gegenüber anderen Kupplungsarten. Sie sind einfach zu montieren, wartungsfrei, langlebig und können bei Bedarf leicht ausgetauscht werden.
Einsatzgebiete von Kupplungen
Kupplungen sind unverzichtbar für die reibungslose Funktion von Maschinen wenn es darum geht die verschiedenen Antriebskomponenten miteinander zu verbinden oder aufeinander abzustimmen.
Zum Beispiel, Antriebswellen und Rotationswellen übertragen das Drehmoment vom Motor auf andere Komponenten, während Passfedern eine sichere Verbindung zwischen Welle und Nabe herstellen.
Zahnriemen und Zahnräder sorgen für eine präzise Bewegungsübertragung, während Ausgleichskupplungen neben der Kraftübertragung zum Teil auch einen Wellenversatz ausgleichen können oder Vibrationen reduzieren. Zahnräder ermöglichen es, unterschiedliche Geschwindigkeiten zu erreichen oder Kraft in verschiedene Richtungen umzuwandeln.
Magnetkupplungen bieten eine kontaktlose Übertragung des Drehmoments und können bei Bedarf schnell getrennt werden.
Antriebsketten sind robuste Alternativen zu Riemenantrieben und eignen sich besonders gut für schwere Lastaufnahmen.
Montage von Kupplungen
Die Montage der Kupplung kann auf unterschiedliche Arten erfolgen. Bei MISUMI können Kupplungen mit Nabenklemmung, Halbschalenklemmung, Schlitzklemmung, Gewindestiftklemmung, Spannhülsen oder Passfedernuten umgesetzt werden, wodurch eine Vielzahl von Anbringungs- und Kombinationsmöglichkeiten ermöglicht wird.
Anwendungsbeispiele
Kupplungen kommen in den verschiedensten Anwendungen zum Einsatz.
- (1) - Servomotor
- (2) - Scheibenkupplung (Servo-Kupplung)
- (3) - Kugelgewindetrieb
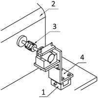
- (1) - Lager mit Gehäuse
- (2) - Wellenkupplung
- (3) - Motor
- (4) - Achsen / Wellen
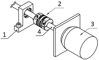
- (1) - Positioniertisch X-Achse
- (2) - Leistungsprüfstation
- (3) - Wellenkupplung
- (4) - Halterungen, L-förmig
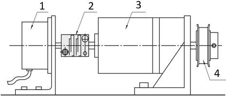
- (1) - Motor
- (2) - Wellenkupplung
- (3) - Umwandlungs- / Reduziergetriebe
- (4) - Synchronriemenscheibe



