Winkelplatten und Winkelkonsolen - Übersicht & Einsatzgebiete

An Eck- oder Kantenverbindungen von Konstruktionen treten unterschiedliche Kräfte auf, die bei nicht ausreichender Abstützung oder Ableitung zum Verbiegen oder sogar zum Versagen der Konstruktion führen können. Winkelverbindungen können hier Abhilfe schaffen und für Stabilität sorgen. Sie werden verwendet, um die Kräfte und Lasten in Rahmenkonstruktionen und Tragwerken effektiv zu verteilen. Der nachfolgende Artikel erläutert unterschiedliche Arten von Befestigungswinkeln und Winkelhalterungen, die in vielen industriellen Anwendungen für die Stabilisierung von Winkelverbindungen eingesetzt werden.

Winkelplatten und Verstärkungswinkel - Gemeinsamkeiten und Unterschiede

MISUMI ist der weltweit größte Anbieter von standardisierten und konfigurierbaren Komponenten für die Fertigungsindustrie und bietet in seinem Sortiment eine Vielzahl an Befestigungswinkeln an, unter anderem Winkelplatten bzw. Winkelkonsolen sowie Verstärkungswinkel bzw. Versteifungswinkel. Beide Arten von Winkeln werden verwendet, um in der Konstruktion und im Maschinenbau Bauteile im rechten Winkel zu verbinden und zusätzliche Stabilität zu bieten. Aber auch als Anschlag- und Positionierelemente in Positioniereinrichtungen werden Winkelplatten eingesetzt. Ein charakteristisches Merkmal von Winkelplatten ist, dass sie oft nicht gleichschenklig sind. Das bedeutet, dass die beiden Schenkel der Platte unterschiedlich lang sind, wodurch eine flexible Anpassung an unterschiedliche Konstruktionen möglich wird. Bei Winkelplatten sind zwei Platten mit einem Steg bzw. einer Versteifung verbunden, die im Aufbau einem Verstärkungswinkel ähnelt. Die Versteifung hat den Zweck, bei gleichzeitig geringerem Materialeinsatz insbesondere die Verdrehsteife und die Biegefestigkeit zu erhöhen. Während Verstärkungswinkel leichter und kompakter sind als Winkelplatten, bieten letztere eine größere Montagefläche und somit mehr Optionen für die Konfiguration von Bohrlöchern.

Beispielabbildung mit Verstärkungswinkel (links) und Winkelplatte (rechts)
Beispielabbildung mit Verstärkungswinkel (links) und Winkelplatte (rechts)

Rechtwinkligkeit von Winkelplatten und Verstärkungswinkeln

Befestigungswinkel werden eingesetzt, um Lasten zu verteilen und sorgen so für die strukturelle Stabilität von rechtwinkligen Konstruktionen. Um dies zu gewährleisten, müssen die Winkel über eine geringe Rechtwinkligkeitstoleranz verfügen. Nur so können die Winkel bündig anliegen und für Stabilität sorgen. Liegen die Winkel nicht bündig an, werden auftretende Lasten nicht gleichmäßig verteilt und Bauteile können sich verbiegen oder sogar brechen.

Eine präzise Rechtwinkligkeit in Konstruktionen ist somit ausschlaggebend für die Passform und Funktion von Bauteilen in größeren Systemen. Die Rechtwinkligkeitstoleranz beschreibt in der Fertigung und im Maschinenbau die maximal zulässige Abweichung von der idealen 90-Grad-Orientierung zwischen zwei Ebenen oder Flächen. Wenn zwei Ebenen rechtwinklig zueinander stehen sollen, definiert die Rechtwinkligkeitstoleranz, wie viel die tatsächliche Ausrichtung von dieser perfekten Rechtwinkligkeit abweichen darf. Der Toleranzwert ist also ein Maß dafür, wie weit die eine Ebene von der genauen senkrechten Position zur anderen Ebene abweichen kann.

Rechtwinkligkeit zwischen zwei Ebenen
Rechtwinkligkeit zwischen zwei Ebenen

Um den unterschiedlichen Anforderungen industrieller Anwendungen hinsichtlich Funktionalität und Stabilität gerecht zu werden, verfügen die Verstärkungswinkel und Winkelplatten von MISUMI über eine sehr eng ausgelegte Rechtwinkligkeitstoleranz. Insbesondere Verstärkungswinkel der Präzisionsklasse sorgen mit einer Rechtwinkligkeit von 0.02 pro 100 mm für optimale strukturelle Integrität.

Präzisisionsklassen von MISUMI - Verstärkungswinkeln und Winkelplatten
  Verstärkungswinkel Winkelplatten
Standardklasse Präzisionsklasse  
Metrisch 0.05/100mm 0.02/100mm 0.02/100mm
Zöllig 0.002/4.000" 0.002/4.000"

Ausführungen von Winkelkonsolen und Verstärkungswinkeln

Hinsichtlich des Herstellungsverfahrens kann man zwischen gegossenen und maschinell bearbeiteten Verstärkungswinkeln unterscheiden. Beide Arten von Verstärkungswinkeln dienen dem Zweck, Bauteile zu verbinden und zu stabilisieren, weisen jedoch spezifische Eigenschaften auf und sind somit für unterschiedliche Anwendungen geeignet. Gegossene Verstärkungswinkel werden durch das Gießen einer Metalllegierung in eine Form hergestellt. Durch den Gießprozess können Verstärkungswinkel mit integrierten Rippen oder komplexen Profilen gefertigt werden, die zur strukturellen Verstärkung dienen. Maschinell bearbeitete Versteifungswinkel werden aus Rohmaterialien wie Metallplatten durch mechanische Verfahren wie Fräsen, Drehen oder Bohren geformt. Diese Methode ermöglicht eine hohe Präzision und die Einhaltung enger Toleranzen.

Eine weitere Unterscheidung kann hinsichtlich des Gewichts und der Form vorgenommen werden. MISUMI bietet gewichtsreduzierte Verstärkungswinkel und solche in Form eines Strebenwinkels an. Beide Ausführungen eignen sich hervorragend für Anwendungen im Leichtbau, können aufgrund ihres kleinen Profils jedoch nicht die gleichen Lasten wie herkömmliche maschinell bearbeitete Verstärkungswinkel tragen.

Beispielabbildung mit gewichtsreduziertem Verstärkungswinkel (links) und Strebenwinkel (rechts)
Beispielabbildung mit gewichtsreduziertem Verstärkungswinkel (links) und Strebenwinkel (rechts)

Die Winkelplatten bzw. Winkelkonsolen von MISUMI werden durch Gießen oder Schweißen hergestellt. Da der Gussprozess die Erstellung komplizierter Formen erlaubt, können gegossene Winkelplatten speziell an die Anforderungen einer bestimmten Anwendung angepasst werden, indem zum Beispiel Verstärkungsrippen oder spezielle Befestigungsöffnungen direkt in das Design integriert werden. Geschweißte Winkelplatten bestehen aus mehreren Metallkomponenten, die durch Schweißprozesse miteinander verbunden werden. Diese Methode ist besonders flexibel, da sie es ermöglicht, Standardmetallprofile zu verwenden und sie entsprechend den Anforderungen der spezifischen Anwendung zu kombinieren.

Beispielabbildung mit gegossener (links) und geschweißter Winkelplatte (rechts)
Beispielabbildung mit gegossener (links) und geschweißter Winkelplatte (rechts)

Material von Winkelkonsolen und Versteifungswinkeln

Bei der Auswahl von Verstärkungswinkeln und Winkelplatten ist das Material von entscheidender Bedeutung, da es die Festigkeit, Haltbarkeit und das Einsatzgebiet der Bauteile beeinflusst. Jedes Material hat seine eigenen besonderen Vorzüge und kann durch verschiedene Oberflächenbehandlungen weiter optimiert werden, um spezifische Eigenschaften wie Korrosionsbeständigkeit oder zusätzliche Festigkeit zu erreichen. Verstärkungswinkel aus Kohlenstoffstahl 1018 (EN 1.0038 Equiv.), zum Beispiel, zeichnen sich durch seine gute Festigkeit und Zähigkeit aus. Als Oberflächenbehandlung steht unter anderem die chemische Vernickelung zur Auswahl, die wiederum für eine ausgezeichnete Korrosionsbeständigkeit sorgt. MISUMI bietet je nach Anforderung und Umgebungsbedingungen eine Vielzahl an Materialien und Oberflächenbehandlungen an:

Materialien von MISUMI - Verstärkungswinkeln und Winkelplatten
Ausführung Material Oberflächenbehandlung
Verstärkungswinkel - gegossen Kohlenstoffstahl 1018 (EN 1.0038 Equiv.) brüniert
chemisch vernickelt
Aluminium-Gusslegierung ( EN AC 46200 Equiv.) klar eloxiert
Verstärkungswinkel - maschinell bearbeitet Kohlenstoffstahl 1018 (EN 1.0038 Equiv.) brüniert
chemisch vernickelt
Edelstahl 304 (EN 1.4301 Equiv.) -
Aluminiumlegierung (EN AW 5052 Equiv.) klar eloxiert
schwarz eloxiert
Winkelplatten - gegossen legiertes Gusseisen Klasse 35 (EN JL 1040 Equiv.) grundiert
brüniert
chemisch vernickelt
Aluminium Gusslegierung (EN AC 42200-T5 Equiv.)
Aluminium Gusslegierung (EN AC 41300-T5 Equiv.)
Aluminium Gusslegierung (EN AC 51300 Equiv.)
-
Winkelplatten - geschweißt legiertes Gusseisen Klasse 35 brüniert
chemisch vernickelt
Edelstahl 304 (EN 1.4301 Equiv.) -

Konfigurierbarkeit von Winkelkonsolen und Verstärkungswinkeln

Jedes Projekt und jede Anwendung stellt ganz spezifische Anforderungen. Daher spielen Flexibilität und Anpassungsfähigkeit bei der Auswahl von Befestigungswinkeln für die jeweilige Anwendung eine zentrale Rolle.

Winkel auf Maß

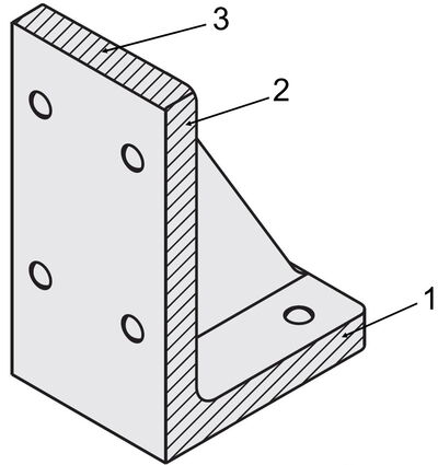
MISUMI bietet die Möglichkeit, je nach Art und Ausführung der Winkel unterschiedliche Maße wie Länge, Höhe, Breite sowie die Rechtwinkligkeitstoleranz aus fest vorgegebenen Bereichen auszuwählen oder frei zu konfigurieren. Diese Flexibilität ermöglicht maßgeschneiderte Lösungen für Anwendungen, in denen Standardgrößen nicht geeignet sind. In der Praxis ist für die Stabilität von Eckverbindungen im Zusammenhang mit der Abstützung großer Gewichte zu beachten, dass die Höhe der Winkelplatte immer größer ist als die Breite, damit sich die einwirkende Kraft richtig verteilen kann.

Konfigurierbarkeit von Länge (1), Höhe (2) und Breite (3) bei Winkelplatten
Konfigurierbarkeit von Länge (1), Höhe (2) und Breite (3) bei Winkelplatten

Konfiguration von Bohrlöchern

Ein weiterer Aspekt hinsichtlich der Anpassungsfähigkeit ist die Ausführung und Position der Bohrungen. Auch diese können auf die speziellen Befestigungsbedürfnisse zugeschnitten werden, um eine optimale Verbindung und Stabilität in der jeweiligen Anwendung zu gewährleisten. Bei Verstärkungswinkeln besteht die Option für Senkbohrungen, Durchgangsbohrungen und Gewindebohrungen. Der Vorteil bei Senkbohrungen besteht zum Beispiel darin, dass Schraubenköpfe vollständig in das Material versenkt werden und somit das Risiko für Beschädigungen oder Hängenbleiben reduziert wird. Durchgangsbohrungen sind eine optimale Lösung für Anwendungen, die eine besonders robuste und stabile Verbindung erfordern. Diese Bohrungsart ist perfekt für Konstruktionen, die hohen Lasten und Spannungen standhalten müssen, da die Verbindungselemente vollständig durch das Material verlaufen und von beiden Seiten des Winkels erreichbar sind. Die Gewindebohrung bietet eine praktische und platzsparende Befestigungslösung, insbesondere dort, wo der Zugang zur Rückseite des Werkstücks eingeschränkt ist. Für die gegossenen Verstärkungswinkel von MISUMI sind nur Durchgangsbohrungen an vorgegebenen Positionen verfügbar, während die Art, die Anzahl und die Positionen der Bohrlöcher bei maschinell bearbeiteten Versteifungswinkeln im Rahmen der Fertigungsgrenzen frei konfiguriert werden können.

Verstärkungswinkel mit Senkbohrung (1), Durchgangsbohrung (2) und Gewindebohrung (3)
Verstärkungswinkel mit Senkbohrung (1), Durchgangsbohrung (2) und Gewindebohrung (3)

Bei Winkelplatten bzw. Winkelkonsolen ergibt sich durch die individuelle Konfigurierbarkeit der Bemaßung im Vergleich zu Verstärkungswinkeln eine größere Montagefläche, die wiederum noch mehr Möglichkeiten bietet, die Anzahl und Position der Bohrlöcher zu definieren. Bei Winkelplatten gibt es sogar die Option ohne Bohrlöcher. Dies ermöglicht absolute Kontrolle und Anpassungsfähigkeit für den Fall, dass Winkel benötigt werden, die außerhalb der Spezifikationen von MISUMI liegen. Langlöcher wiederum erlauben eine Nachjustierung und genaue Ausrichtung im Rahmen des vom Langloch bereitgestellten Spielraums, insbesondere wenn die exakte Position später angepasst werden soll. Neben diesen Optionen gibt es für Konsolenwinkel noch zahlreiche weitere Ausführungen für Bohrlöcher, die den Produktkatalogen und Shop-Seiten von MISUMI entnommen werden können.

Unterschiedliche Anzahl und Positionen von Bohrlöchern bei Winkelplatten
Unterschiedliche Anzahl und Positionen von Bohrlöchern bei Winkelplatten

Neben Winkelplatten und Verstärkungswinkeln bietet MISUMI ein umfangreiches Angebot an weiteren Befestigungswinkeln, wie zum Beispiel Montagewinkel und Winkelprofile, die ebenfalls je nach Anwendung und Einsatzbedingungen konfiguriert werden können.

Weitere Informationen zu Bearbeitungsgrenzen und Genauigkeitsstandards der aus Blech gefertigte Winkelplatten und Winkelkonsolen finden sie in unserem Blog: Bearbeitungsgrenzen bei Blechteilen.