Spannstifte - Übersicht / Ausführung / Anwendung
Spannstifte, bzw. Spannhülsen, sind mechanische Befestigungselemente aus Federstahl. Diese Elemente verbinden Bauteile sicher und zuverlässig miteinander und bieten dabei gleichzeitig eine gewisse Flexibilität. Sie sind einfach zu montieren und bieten eine gleichmäßige Lastverteilung auf die Oberfläche des Stifts und der Bohrung. Sie sind in vielen Branchen und Anwendungen verbreitet und vor allem in solchen Anwendungen nützlich, bei denen eine dauerhafte Verbindung ohne den Gebrauch von Schrauben oder anderen Verbindungselementen erforderlich ist.
Was sind Spannstifte?
Spannstifte, auch unter der Bezeichnung Spannhülsen bekannt, gehören zur Gruppe der Bolzenverbindungen und Stiftverbindungen. Sie dienen dazu, Bauteile sicher und zuverlässig zu fixieren. Spannstifte werden häufig zusammen mit anderen Befestigungselementen wie Bolzen oder Schrauben eingesetzt und kommen in verschiedenen Branchen wie beispielsweise der herstellenden Automobilindustrie und dem Maschinenbau zum Einsatz.
Spannstifte bestehen aus Federstahl, der zu einem nahezu geschlossenen Rohr oder einer Spirale geformt wird. Die Federwirkung sorgt dafür, dass der Spannstift ohne plastische Verformung zusammengedrückt werden kann. Die Spannwirkung wird durch das Bestreben des Federstahls seine Ursprungsform zu erhalten ermöglicht. Der Grad der Kompression, den Spannstifte erreichen können, hängt zum einen vom Material und zum anderen vom gewählten Durchmesser der Anwendung ab. Zusätzlich erleichtert eine kegelförmige Fase an einem oder beiden Enden des Spannstifts eine einfache Montage.
Um zwei Bauteile per Spannstift miteinander zu verbinden, bohrt man in beide Teile an der gewünschten Stelle ein Loch mit der entsprechend zulässigen Toleranz und führt den Spannstift ein. Der Spannstift hält daraufhin die beiden Elemente fest zusammen. Das Einsetzen des Spannstifts kann mit einem dafür geeigneten Hammer, einer Dornpresse (eine Einpresshilfe) oder speziellen Einsetzmaschinen für die automatische Bestückung erfolgen.
Ein entscheidender Vorteil von Spannstiften liegt in ihrer Fähigkeit, große Scherkräfte zu übertragen, ohne dass spezielle Einbaubedingungen oder aufwändige Passungen erforderlich sind. Gegenüber Passstiften haben Spannstifte bzw. Spannhülsen bei der Verbindung mehrerer Bauteile den Vorteil, dass kleine Achsabstandsfehler elastisch ausgeglichen werden. Durch die Federkomponente wird die Positionierung auch bei Schwingungen und Vibrationen präzise gehalten.
Besonderheit von Spannstiften
Spannstifte bestehen aus Federstahl und werden aufgrund ihrer Federwirkung bei der Installation gespannt. Federstahl zeichnet sich im Vergleich zu anderen Stahlarten durch seine ausgeprägten federnden Eigenschaften aus. Spannstifte aus Federstahl können bis zu einem bestimmten Punkt gebogen werden und ohne bleibende Verformung elastisch in ihren ursprünglichen Zustand zurückkehren. Federstahl weist eine vorteilhafte Kombination aus Zugfestigkeit und Dauerschwingfestigkeit auf, zeichnet sich durch eine hohe Bruchdehnung und Brucheinschnürung aus und ist somit besonders elastisch. Die hohe Elastizitätsgrenze wird durch spezielle Legierungen erreicht.
Ausführungen von Spannstiften
Es gibt verschiedene Arten von Spannstiften, welche jeweils für unterschiedliche Anwendungen geeignet sind. MISUMI bietet eine Vielzahl an geschlitzten und spiralförmigen Spannstiften aus Stahl oder Edelstahl an.
Hohlspannstifte
Hohlspannstifte, oder geschlitzte Spannstifte, sind hohle, kopflose Bauteile mit einem länglichen Schlitz entlang ihrer gesamten Länge. Die Stirnseiten sind abgeschrägt oder gerundet, um die Installation zu erleichtern. Diese Spannhülsen werden mit einem kontrollierten Außendurchmesser hergestellt, der etwas größer ist als die Bohrungen, in die sie eingesetzt werden sollen.
Beide Hälften eines geschlitzten Spannstifts werden während der Installation zusammengedrückt, weshalb sich die Hauptfederwirkung auf den Bereich gegenüber dem Schlitz konzentriert. Nach der Installation wird ein anhaltender Druck auf die Innenwand der Bohrung ausgeübt. Dank dieser Flexibilität sind Spannstifte in der Lage, größere Toleranzen bei den Bohrungsdurchmessern aufzunehmen.
Links in der Abbildung ist ein Spannstift mit Zahnschlitz zu sehen. Der Abstand der Zähne sorgt dafür, dass die Zähne beim Zusammendrücken des Stifts ineinandergreifen. Dies begünstigt die Rundheit des Stifts und minimiert gleichzeitig die seitliche Bewegung bei Vibrationen.
Spiralspannstifte
Spiralspannstifte unterscheiden sich von herkömmlichen Spannstiften dadurch, dass sie spiralförmige Windungen aufweisen und keine seitlichen Öffnungen besitzen. Diese Konstruktion ermöglicht eine gleichmäßige Verteilung der Spannung entlang der äußeren Windungen. Diese Eigenschaft ist nicht nur während der Montage von Vorteil, sondern trägt auch zur erhöhten Haltbarkeit der Verbindung bei. Der Stift kann die Druckbelastung dadurch gleichmäßiger aufnehmen.
Wenn man Spiralspannstifte in eine Bohrung einführt, beginnt die Kompression am äußeren Rand und bewegt sich durch die Windungen nach innen. Das Ergebnis sind eine gleichmäßige Verteilung der Belastung und eine konstante Abscherkraft sowie Flexibilität, unabhängig davon, in welcher Richtung die Kraft aufgebracht wurde. Auch nach der Installation können Spiralspannstifte weiter komprimiert werden und sind so in der Lage, Stöße und Schwingungen zu absorbieren.
Leichte Ausführung und schwere Ausführung
Ein weiterer Faktor bei der Unterscheidung von Spannstiften ist die Kombination aus Festigkeit und Flexibilität. Ein Spannstift, der zu stark ist, erfordert mehr Kraft für die Montage und kann die Bohrung aufgrund seiner Starrheit beschädigen. Andererseits kann ein zu flexibler Stift vorzeitig in der Anwendung ermüden und aufgrund von Schwingungsbelastung oder ähnlichem herausfallen. Ein Spannstift, der die optimale Balance zwischen Festigkeit, Flexibilität und Durchmesser aufweist, kann die Lebensdauer der verbundenen Komponenten erheblich verlängern.
Für eine optimale Auswahl in Bezug auf Festigkeit und Flexibilität unterscheidet man bei Spannstiften neben der Standardausführung noch die leichte Ausführung und die schwere Ausführung.
Die leichte Ausführung von Spannstiften ist weniger fest als die schwere Ausführung. Leichtspannstifte geben bereits bei geringeren Belastungen nach, während Schwerspannstifte höhere Belastungen aushalten können, ohne sich zu verformen. Leichte Spannstifte werden in Anwendungen eingesetzt, in denen niedrigere Belastungen auftreten und Flexibilität wichtiger ist. Schwere Spannstifte hingegen werden in Anwendungen verwendet, in denen hohe Belastungen und Festigkeit erforderlich sind, wie zum Beispiel im Maschinenbau. Spannstifte mittlerer Ausführung, auch als Standardausführung bezeichnet, sind sozusagen eine Zwischenstufe. Sie sind in der Regel größer und robuster als Leichtspannstifte, aber kleiner und weniger massiv als Schwerspannstifte.
Geschlitzte Spannstifte der leichten Ausführung sind nach ISO 13337 (DIN 7346) genormt und die der schweren Ausführung nach ISO 8252 (ersetzt DIN 1481). Spiralförmige Spannstifte der Standardausführung sind nach ISO 8750 (entspricht DIN 7343) genormt und die der schweren Ausführung nach ISO 8748 (entspricht DIN 7344).
Formen und Maße - die richtige Auswahl von Spannstiften
Unabhängig von den oben erläuterten Ausführungen unterscheidet man bei Spannstiften auch die Fasenform. Spannstifte können nur auf einer Seite oder an beiden Seiten eine Fase haben. Die Anfasung erleichtert das Eintreiben und hilft bei der Zentrierung in der Bohrung. Je nach Anwendung ist die gewünschte Fasenform zu wählen.
Bei der Auswahl des richtigen Spannstifts spielt außerdem der Nenndurchmesser eine entscheidende Rolle. Der Nenndurchmesser des Montagelochs für den Spannstift sollte mit dem Nenndurchmesser des Spannstifts übereinstimmen. Zu berücksichtigen sind außerdem entsprechende Datenblätter zu Toleranzen von Bohrungen. Bei der Montage von geschlitzten Spannstiften ist zu beachten, dass die Seiten der Nut beim Einsetzen des Spannstifts in das Montageloch nicht in den Kontakt mit der Bohrung kommen.
| Nenndurchmesser | Spannstifte | geeignete Bohrungen | ||||||||||||||||||||||||||||||||||||||||||||||||||||||||||||||||||||||||||||||||||||||||||||||||||||
|---|---|---|---|---|---|---|---|---|---|---|---|---|---|---|---|---|---|---|---|---|---|---|---|---|---|---|---|---|---|---|---|---|---|---|---|---|---|---|---|---|---|---|---|---|---|---|---|---|---|---|---|---|---|---|---|---|---|---|---|---|---|---|---|---|---|---|---|---|---|---|---|---|---|---|---|---|---|---|---|---|---|---|---|---|---|---|---|---|---|---|---|---|---|---|---|---|---|---|---|---|---|---|
| D (1) | t (zur Information) |
E | Doppelscherung Last in kN Minimalwert |
|||||||||||||||||||||||||||||||||||||||||||||||||||||||||||||||||||||||||||||||||||||||||||||||||||
| max. | min. | normale Anwendung | für geringe Traglast | (max.) | normale Anwendung | für geringe Traglast | Durchmesser | Maßtoleranz | ||||||||||||||||||||||||||||||||||||||||||||||||||||||||||||||||||||||||||||||||||||||||||||||
| 1 | 1.2 | 1.1 | 0.2 | 0.1 | 0.9 | 0.69 | 0.38 | 1 | + 0.08 0 |
|||||||||||||||||||||||||||||||||||||||||||||||||||||||||||||||||||||||||||||||||||||||||||||
| 1.2 | 1.4 | 1.3 | 0.25 | 0.12 | 1.1 | 1.02 | 0.56 | 1.2 | ||||||||||||||||||||||||||||||||||||||||||||||||||||||||||||||||||||||||||||||||||||||||||||||
| 1.4 | 1.6 | 1.5 | 0.28 | 0.15 | 1.3 | 1.35 | 0.8 | 1.4 | ||||||||||||||||||||||||||||||||||||||||||||||||||||||||||||||||||||||||||||||||||||||||||||||
| 1.5 | 1.7 | 1.6 | 0.3 | 0.15 | 1.4 | 1.55 | 0.87 | 1.5 | ||||||||||||||||||||||||||||||||||||||||||||||||||||||||||||||||||||||||||||||||||||||||||||||
| 1.6 | 1.8 | 1.7 | 0.3 | 0.15 | 1.5 | 1.68 | 0.93 | 1.6 | ||||||||||||||||||||||||||||||||||||||||||||||||||||||||||||||||||||||||||||||||||||||||||||||
| 2 | 2.25 | 2.15 | 0.4 | 0.2 | 1.9 | 2.76 | 1.55 | 2 | + 0.09 0 |
|||||||||||||||||||||||||||||||||||||||||||||||||||||||||||||||||||||||||||||||||||||||||||||
| 2.5 | 2.75 | 2.65 | 0.5 | 0.25 | 2.4 | 4.31 | 2.42 | 2.5 | ||||||||||||||||||||||||||||||||||||||||||||||||||||||||||||||||||||||||||||||||||||||||||||||
| 3 | 3.25 | 3.15 | 0.6 | 0.3 | 2.9 | 6.2 | 3.49 | 3 | ||||||||||||||||||||||||||||||||||||||||||||||||||||||||||||||||||||||||||||||||||||||||||||||
| 4 | 4.4 | 4.2 | 0.8 | 0.4 | 3.9 | 10.8 | 6.21 | 4 | + 0.12 0 |
|||||||||||||||||||||||||||||||||||||||||||||||||||||||||||||||||||||||||||||||||||||||||||||
| 5 | 5.4 | 5.2 | 1 | 0.5 | 4.8 | 17.25 | 9.7 | 5 | ||||||||||||||||||||||||||||||||||||||||||||||||||||||||||||||||||||||||||||||||||||||||||||||
| 6 | 6.4 | 6.2 | 1.2 | 0.6 | 5.8 | 24.83 | 13.96 | 6 | ||||||||||||||||||||||||||||||||||||||||||||||||||||||||||||||||||||||||||||||||||||||||||||||
| 8 | 8.6 | 8.3 | 1.6 | − | 7.8 | 44.13 | − | 8 | + 0.15 0 |
|||||||||||||||||||||||||||||||||||||||||||||||||||||||||||||||||||||||||||||||||||||||||||||
| 10 | 10.6 | 10.3 | 2 | − | 9.8 | 68.94 | − | 10 | ||||||||||||||||||||||||||||||||||||||||||||||||||||||||||||||||||||||||||||||||||||||||||||||
| 13 | 13.7 | 13.4 | 2.5 | − | 12.7 | 112.78 | − | 13 | + 0.2 0 |
|||||||||||||||||||||||||||||||||||||||||||||||||||||||||||||||||||||||||||||||||||||||||||||
| ||||||||||||||||||||||||||||||||||||||||||||||||||||||||||||||||||||||||||||||||||||||||||||||||||||||
| ℓ | Maßtoleranz | Nenndurchmesser | ||||||||||||||||||||||||||||||||||||||||||||||||||||||||||||||||||||||||||||||||||||||||||||||||||||
|---|---|---|---|---|---|---|---|---|---|---|---|---|---|---|---|---|---|---|---|---|---|---|---|---|---|---|---|---|---|---|---|---|---|---|---|---|---|---|---|---|---|---|---|---|---|---|---|---|---|---|---|---|---|---|---|---|---|---|---|---|---|---|---|---|---|---|---|---|---|---|---|---|---|---|---|---|---|---|---|---|---|---|---|---|---|---|---|---|---|---|---|---|---|---|---|---|---|---|---|---|---|---|
| 1 | 1.2 | 1.4 | 1.5 | 1.6 | 2 | 2.5 | 3 | 4 | 5 | 6 | 8 | 10 | 13 | |||||||||||||||||||||||||||||||||||||||||||||||||||||||||||||||||||||||||||||||||||||||||
| 4 | + 0.5 0 |
• | • | • | • | • | ||||||||||||||||||||||||||||||||||||||||||||||||||||||||||||||||||||||||||||||||||||||||||||||||
| 5 | • | • | • | • | • | • | • | |||||||||||||||||||||||||||||||||||||||||||||||||||||||||||||||||||||||||||||||||||||||||||||||
| 6 | • | • | • | • | • | • | • | • | ||||||||||||||||||||||||||||||||||||||||||||||||||||||||||||||||||||||||||||||||||||||||||||||
| 8 | • | • | • | • | • | • | • | • | • | |||||||||||||||||||||||||||||||||||||||||||||||||||||||||||||||||||||||||||||||||||||||||||||
| 10 | • | • | • | • | • | • | • | • | • | • | ||||||||||||||||||||||||||||||||||||||||||||||||||||||||||||||||||||||||||||||||||||||||||||
| 12 | + 1.0 0 |
• | • | • | • | • | • | • | • | • | • | |||||||||||||||||||||||||||||||||||||||||||||||||||||||||||||||||||||||||||||||||||||||||||
| 14 | • | • | • | • | • | • | • | • | • | |||||||||||||||||||||||||||||||||||||||||||||||||||||||||||||||||||||||||||||||||||||||||||||
| 16 | • | • | • | • | • | • | • | • | ||||||||||||||||||||||||||||||||||||||||||||||||||||||||||||||||||||||||||||||||||||||||||||||
| 18 | • | • | • | • | • | • | • | • | ||||||||||||||||||||||||||||||||||||||||||||||||||||||||||||||||||||||||||||||||||||||||||||||
| 20 | • | • | • | • | • | • | • | • | ||||||||||||||||||||||||||||||||||||||||||||||||||||||||||||||||||||||||||||||||||||||||||||||
| 22 | • | • | • | • | • | • | • | • | ||||||||||||||||||||||||||||||||||||||||||||||||||||||||||||||||||||||||||||||||||||||||||||||
| 25 | • | • | • | • | • | • | • | • | ||||||||||||||||||||||||||||||||||||||||||||||||||||||||||||||||||||||||||||||||||||||||||||||
| 28 | • | • | • | • | • | • | • | |||||||||||||||||||||||||||||||||||||||||||||||||||||||||||||||||||||||||||||||||||||||||||||||
| 32 | • | • | • | • | • | • | • | |||||||||||||||||||||||||||||||||||||||||||||||||||||||||||||||||||||||||||||||||||||||||||||||
| 36 | • | • | • | • | • | • | ||||||||||||||||||||||||||||||||||||||||||||||||||||||||||||||||||||||||||||||||||||||||||||||||
| 40 | • | • | • | • | • | • | ||||||||||||||||||||||||||||||||||||||||||||||||||||||||||||||||||||||||||||||||||||||||||||||||
| 45 | • | • | • | • | • | |||||||||||||||||||||||||||||||||||||||||||||||||||||||||||||||||||||||||||||||||||||||||||||||||
| 50 | • | • | • | • | • | |||||||||||||||||||||||||||||||||||||||||||||||||||||||||||||||||||||||||||||||||||||||||||||||||
| 56 | + 1.5 0 |
• | • | • | • | |||||||||||||||||||||||||||||||||||||||||||||||||||||||||||||||||||||||||||||||||||||||||||||||||
| 63 | • | • | • | • | ||||||||||||||||||||||||||||||||||||||||||||||||||||||||||||||||||||||||||||||||||||||||||||||||||
| 70 | • | • | • | |||||||||||||||||||||||||||||||||||||||||||||||||||||||||||||||||||||||||||||||||||||||||||||||||||
| 80 | • | • | • | |||||||||||||||||||||||||||||||||||||||||||||||||||||||||||||||||||||||||||||||||||||||||||||||||||
| 90 | • | • | ||||||||||||||||||||||||||||||||||||||||||||||||||||||||||||||||||||||||||||||||||||||||||||||||||||
| 100 | • | • | ||||||||||||||||||||||||||||||||||||||||||||||||||||||||||||||||||||||||||||||||||||||||||||||||||||
| 110 | • | |||||||||||||||||||||||||||||||||||||||||||||||||||||||||||||||||||||||||||||||||||||||||||||||||||||
| 125 | • | |||||||||||||||||||||||||||||||||||||||||||||||||||||||||||||||||||||||||||||||||||||||||||||||||||||
| 140 | • | |||||||||||||||||||||||||||||||||||||||||||||||||||||||||||||||||||||||||||||||||||||||||||||||||||||
| ||||||||||||||||||||||||||||||||||||||||||||||||||||||||||||||||||||||||||||||||||||||||||||||||||||||
Die vollständige Übersicht finden Sie hier.
Anwendungsbeispiele von Spannstiften
Spannstifte können im Maschinenbau vielfältig eingesetzt werden. Anwendungsbeispiele von Spannstiften sind:
Bei dieser Anwendung wird ein Werkstück über eine Gleiteinheit in die erforderliche Position gebracht. Das Abziehen des Führungswagens wird mit Anschlagstiften - hier Spannstiften - verhindert. Hier klicken, um noch mehr Details über diese Anwendung zu erfahren und sie als Animation zu sehen.
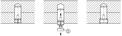
Diese Anwendung zeigt die Montage und Demontage eines gezahnten Spannstifts. Für die Montage sind keine Gewindebohrungen erforderlich, und der Spannstift kann bei Bedarf direkt mit einem Stiftzieher entfernt werden.
Im Online-Shop von MISUMI finden Sie zahlreiche weitere Maschinenelemente, wie zum Beispiel Zylinderstifte, Auflagebolzen oder Sicherungsringe, die bei der Montage von Spannstiften nützlich sind. Andere Verbindungselemente, wie Schrauben und Bolzen, sind ebenfalls in erstklassiger Materialauswahl erhältlich.