Sicherungsstifte - Federstecker und Splinte - Formen und Dimensionen
Federstecker und Splinte (auch Sicherungssplint genannt) sind Sicherungselemente für unterschiedliche Einsatzbereiche. Als unkomplizierte und lösbare Sicherung werden sie häufig für Bolzenverbindungen verwendet und dienen der Sicherung der axialen Kraft. Die axiale Kraft ist dabei nicht die Hauptbelastung der Verbindung. Das Sicherungselement dient in erster Linie dem Zusammenhalt der Baugruppe. Die axiale Kraft ist daher im Verhältnis häufig um ein Vielfaches kleiner als die Radialkraft auf den Bolzen. Dieser Artikel geht auf die Grundsätze der Sicherung für Bolzenverbindungen mit Sicherungsstiften, sowie auf Anwendungsbeispiele der verschiedenen Sicherungselemente im Maschinenbau, ein und beleuchtet nach welchen Kriterien die Auswahl dieser Elemente erfolgen kann.
Was sind Federstecker?
Federstecker sind besonders geformte Drahtelemente. Als federnd elastisches - auch als Normteil erhältliches - Sicherungselement haben Federstecker einen geraden Teil des Drahtes, der durch eine Bohrung geführt wird, und einen geformten federnden Anteil, der sich um den Bolzen legen kann. Der Federstecker verhindert zuverlässig das radiale Verrutschen und wird dabei durch seine Formgebung auf dem Bolzen gesichert.
Federstecker werden häufig nach DIN 11024 hergestellt. Es gibt verschiedene Varianten von Federsteckern in unterschiedlichen Ausführungen. Federstecker werden ohne Werkzeug montiert.
Splinte sind ebenfalls geformte Drahtelemente mit einfacher Geometrie. Splinte bestehen aus zwei geraden Anteilen, die parallel und dicht beieinander liegen. Ein Ende des Splints ist zu einer Schlaufe gebogen und sorgt für einen Anschlag, das andere Ende ist offen und kann dann - meistens mit Werkzeug - plastisch verformt werden. So wird das Sicherungselemente gegen Lösen gesichert.
Splinte sind in der ISO 1234 - früher DIN 94 - genormt.
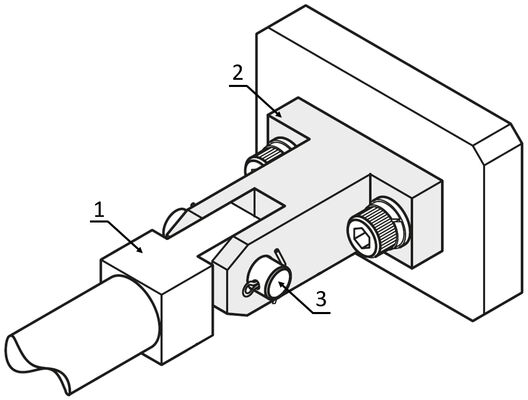
Alternativen zu Federsteckern und Splinten
Neben Sicherungsstiften wie Federsteckern und Splinten gibt es auch spezielle Sicherungselemente, beispielsweise Kugelsperrbolzen und Gewindesperrbolzen. Diese Sperrbolzen sind komplexer in der Herstellung, da diese Bauteile nicht aus einem Material Stück gefertigt werden. Sie enthalten neben dem Bolzen auch das Sicherungselement mit einem Lösemechanismus.
Die Montage ist ohne Werkzeug möglich, da entweder der Lösemechanismus aus Kugel oder Gewinde mittels Schalter betätigt wird oder ein Federmechanismus mit ausreichender Betätigungskraft überwunden werden kann.
Bedienung eines Kugelsperrbolzens:
① Kugelsperre durch Knopf drücken lösen. (Kugeln werden eingezogen)
② Stift in passende Bohrung einführen und Knopf loslassen. (Kugeln werden nach außen gedrückt)
③ Bei erneutem Knopfdruck wird die Kugelsperre erneut gelöst. (Der Stift kann wieder gezogen werden)
Sicherungsringe, Sicherungsscheiben und Sprengringe werden für die Sicherung von Wellen oder Bohrungen verwendet. Diese Sicherungen sind robuster bei Drehzahlen und haben größere Auflageflächen, somit können diese Sicherungselemente auch bei höheren axialen Belastungen Anwendung finden. Sicherungsringe und Sprengringe können als axiale Sicherung von innen in Bohrungen verwendet werden.
Scharnierbolzen sind Bolzen mit einer Passung auf der Gleitfläche und einer Form für die Befestigung des Sicherungselements. Sie sind das ideale Gegenstück zu den Sicherungselementen und im MISUMI-Shop in vielen verschiedenen Ausführungen konfigurierbar. Die Ausführungen können Bohrungen, Gewinde und Ausfräsungen haben, um das Sicherungselement zu befestigen.
Federstecker und Splinte richtig anwenden
Federstecker, Splinte und ähnliche Normteile werden unter anderem für die Sicherung von Bolzenverbindungen genutzt. Bei Bolzenverbindungen werden die Kräfte über den Bolzen aufgenommen und es treten keine bis sehr geringe Kräfte in Richtung der Bolzenachse auf. Die primäre Aufgabe der Sicherungselemente ist es, den Bolzen vor dem Herausrutschen zu sichern.
Wann werden Federstecker und Splinte verwendet? Und wann werden Alternativen dazu verwendet?
Federstecker sind die richtige Wahl, wenn die Verbindung häufiger gewechselt werden muss. Die Federstecker werden über den Bolzen geschoben und halten diese Position durch die Vorspannung der Geometrie. Die Sicherung braucht in der Regel mehr Platz als ein Splint.
Im Maschinenbau werden Federstecker in folgenden Anwendungen genutzt:
- Zur Sicherung von Wechselwerkzeug an Maschinen
- Zur Befestigung von Abdeckungen an Gehäusen
Splinte werden genutzt, wenn die Verbindung sehr selten bis gar nicht gelöst wird. Splinte werden mit jeder Montage und Demontage spröder und versagen schneller. Deswegen müssen Splinte bei mehrmaliger Demontage ersetzt werden.
Splinte werden im Maschinenbau vielfältig eingesetzt, unter anderem:
- Zur Sicherung von Bedienelementen an Maschinensteuerungen
- Zur Fixierung von Scharnierbolzen in Öffnungen von Gehäusen
- Zur Arretierung der Verbindungen zwischen Teilmaschinen, beispielsweise Förderbänder
Bei Anwendungen, die häufige, tägliche Montagen und Veränderungen fordern, werden bevorzugt Kugelsperrbolzen verwendet. Diese Bauteile sind schwerer zu fertigen und nicht so robust wie Federstecker, sind aber durch den Lösemechanismus für häufige und nahezu kraftlose Demontagen und Montagen geeignet. Eine weitere Ausführung des Kugelsperrbolzens ist ein Federmechanismus. Die Kugeln des Kugelsperrbolzens werden durch eine definierte Federkraft gespannt. Wenn die Kraft bei der Demontage ausreichend groß ist, werden die Kugeln in den Kugelsperrbolzen gedrückt und dieser ist demontierbar. Die Montage funktioniert nach demselben Prinzip.
Kugelsperrbolzen werden im allgemeinen Maschinenbau in diesen Anwendungen genutzt:
- Zur Fixierung von Vorrichtungen in der Montage
- Sicherung von verstellbaren Baugruppen
- Fixierung von Halterungen in der Qualitätskontrolle
Gewindesperrbolzen werden im Maschinenbau verwendet, wenn starke Vibrationen auf die Verbindung wirken, zum Beispiel:
- Sicherung von Kupplungen in Antriebssystemen
- Fixierungen von Komponenten in Schwerlastmaschinen
Sicherungsscheiben und Sicherungsringe werden in gedrehte Nuten der Bolzen montiert und werden bei höheren Drehzahlen genutzt, da diese Elemente die Masse gleichmäßiger um den Bolzen bzw. die Welle verteilen.
Typische Anwendungen im Maschinenbau sind:
- Sicherung von Wälzlagern durch Sicherungsscheiben
- Sicherung von Gleitlagerbuchsen
Dimensionierung und Auswahl - Federstecker in Bolzenverbindungen
Die Auswahl von Sicherungselementen wird nach dem Anwendungsfall entschieden und ist bereits in der Dimensionierung und Auswahl des Bolzens zu berücksichtigen.
Kriterien für die Auswahl sind:
- Schaftdurchmesser: Der Durchmesser des Bolzens beeinflusst die Auswahl der Normteile und die Handhabung des Sicherungselements. Federstecker werden häufiger bei kleinen Durchmessern verwendet, wobei Kugelsperrbolzen und Gewindesperrbolzen häufiger bei großen Bolzen verwendet werden.
- Häufigkeit der Montage: Das Intervall des Lösens der Verbindung belastet das Material und kann werkzeuglos, wie bei Kugelsperrbolzen und Federsteckern erfolgen, oder muss mit Werkzeug, beispielsweise bei Splinten, durchgeführt werden.
- Axialkraft: Die vorhandene wirkende Querkraft auf das Sicherungselement ist entscheidend für die Auswahl. Kleine Querkräfte können mit Splinten abgefangen werden, große Querkräfte erfordern Sicherungsschreiben oder Gewindesperrbolzen.
- Wirtschaftlichkeit: Die Kosten entscheiden zwischen zwei möglichen Varianten, bspw. kann ein Federstift auch viele Aufgaben eines Splints erfüllen. Ein weiteres von vielen Kriterien können die Fertigungskosten der Nut bzw. der Bohrung sein.
- Material: Die Materialauswahl erfolgt nach der vorher ermittelten Scherkraft und zu erwartenden Belastung, die auf das Sicherungselement wirkt. Die genormten Formen können in Abhängigkeit der Anforderung aus Stahl, Edelstahl oder mit Korrosionsschutz hergestellt werden.
Bei MISUMI finden Sie das richtige Sicherungselement für Ihre Splint- oder Bolzenverbindung in den Kategorien:
| Teilenummer | d (Draht-Ø ) |
L | L1 | L2 | R | h | D1 (Passender Schaft-Ø ) |
D2 (Wellenbohrungs-Ø ) |
||||||||||||||||||||||||||||||||||||||||||||||||||||||||||||||||||||||||||||||||||||||||||||||||||||||
|---|---|---|---|---|---|---|---|---|---|---|---|---|---|---|---|---|---|---|---|---|---|---|---|---|---|---|---|---|---|---|---|---|---|---|---|---|---|---|---|---|---|---|---|---|---|---|---|---|---|---|---|---|---|---|---|---|---|---|---|---|---|---|---|---|---|---|---|---|---|---|---|---|---|---|---|---|---|---|---|---|---|---|---|---|---|---|---|---|---|---|---|---|---|---|---|---|---|---|---|---|---|---|---|---|---|---|---|---|---|---|
| Ausführung | Nr. | |||||||||||||||||||||||||||||||||||||||||||||||||||||||||||||||||||||||||||||||||||||||||||||||||||||||||||||
| RNPN | 6 | 1.2 | 25.2 | 9.7 | 3.9 | 3 | 1.4 | 6 | 1.5 | |||||||||||||||||||||||||||||||||||||||||||||||||||||||||||||||||||||||||||||||||||||||||||||||||||||
| 8 | 1.6 | 33.8 | 13.1 | 5.3 | 4 | 2.1 | 8 | 1.9 | ||||||||||||||||||||||||||||||||||||||||||||||||||||||||||||||||||||||||||||||||||||||||||||||||||||||
| 10 | 1.8 | 40.2 | 15.7 | 5.7 | 5 | 3 | 10 | 2.2 | ||||||||||||||||||||||||||||||||||||||||||||||||||||||||||||||||||||||||||||||||||||||||||||||||||||||
| 12 | 2 | 46 | 17.5 | 6 | 6 | 4 | 12 | 2.4 | ||||||||||||||||||||||||||||||||||||||||||||||||||||||||||||||||||||||||||||||||||||||||||||||||||||||
| ||||||||||||||||||||||||||||||||||||||||||||||||||||||||||||||||||||||||||||||||||||||||||||||||||||||||||||||
| Teilenummer | d (Draht-Ø ) |
d1 | L | L1 | L2 | R | h | S | D1 (Passender Schaft-Ø ) |
D2 (Wellenboh- rungs-Ø ) |
||||||||||||||||||||||||||||||||||||||||||||||||||||||||||||||||||||||||||||||||||||||||||||||||||||
|---|---|---|---|---|---|---|---|---|---|---|---|---|---|---|---|---|---|---|---|---|---|---|---|---|---|---|---|---|---|---|---|---|---|---|---|---|---|---|---|---|---|---|---|---|---|---|---|---|---|---|---|---|---|---|---|---|---|---|---|---|---|---|---|---|---|---|---|---|---|---|---|---|---|---|---|---|---|---|---|---|---|---|---|---|---|---|---|---|---|---|---|---|---|---|---|---|---|---|---|---|---|---|---|---|---|---|---|---|---|---|
| Ausführung | Nr. | |||||||||||||||||||||||||||||||||||||||||||||||||||||||||||||||||||||||||||||||||||||||||||||||||||||||||||||
| JNPN JNSPN (Edelstahl) |
4 | 1 | 3 | 16.3 | 6 | 1.5 | 2 | 1 | 0.5 | 4 | 1.2 | |||||||||||||||||||||||||||||||||||||||||||||||||||||||||||||||||||||||||||||||||||||||||||||||||||
| 5 | 17.9 | 6.5 | 2.5 | 1.5 | 5 | |||||||||||||||||||||||||||||||||||||||||||||||||||||||||||||||||||||||||||||||||||||||||||||||||||||||||
| 6 | 1.2 | 3.6 | 21.2 | 7.8 | 3 | 1.8 | 0.6 | 6 | 1.5 | |||||||||||||||||||||||||||||||||||||||||||||||||||||||||||||||||||||||||||||||||||||||||||||||||||||
| 8 | 1.6 | 4.8 | 27.7 | 10.4 | 4 | 2.4 | 0.8 | 8 | 1.9 | |||||||||||||||||||||||||||||||||||||||||||||||||||||||||||||||||||||||||||||||||||||||||||||||||||||
| 10 | 1.8 | 5.4 | 32.6 | 12.2 | 5 | 3.2 | 0.9 | 10 | 2.2 | |||||||||||||||||||||||||||||||||||||||||||||||||||||||||||||||||||||||||||||||||||||||||||||||||||||
| 12 | 35.8 | 13.2 | 6 | 4.2 | 12 | |||||||||||||||||||||||||||||||||||||||||||||||||||||||||||||||||||||||||||||||||||||||||||||||||||||||||
| ||||||||||||||||||||||||||||||||||||||||||||||||||||||||||||||||||||||||||||||||||||||||||||||||||||||||||||||
| Teilenummer | L | d | a (ca.) | b | c | |||||||||||||||||||||||||||||||||||||||||||||||||||||||||||||||||||||||||||||||||||||||||||||||||||
|---|---|---|---|---|---|---|---|---|---|---|---|---|---|---|---|---|---|---|---|---|---|---|---|---|---|---|---|---|---|---|---|---|---|---|---|---|---|---|---|---|---|---|---|---|---|---|---|---|---|---|---|---|---|---|---|---|---|---|---|---|---|---|---|---|---|---|---|---|---|---|---|---|---|---|---|---|---|---|---|---|---|---|---|---|---|---|---|---|---|---|---|---|---|---|---|---|---|---|---|---|---|---|---|---|
| Ausführung | Nr. | |||||||||||||||||||||||||||||||||||||||||||||||||||||||||||||||||||||||||||||||||||||||||||||||||||||||
| NPN NSPN |
0.8 | 8 | 10 | 12 | 0.7 | 1.6 | 2.4 | 1.4 | ||||||||||||||||||||||||||||||||||||||||||||||||||||||||||||||||||||||||||||||||||||||||||||||||
| 1 | 10 | 12 | 15 | 0.9 | 3 | 1.8 | ||||||||||||||||||||||||||||||||||||||||||||||||||||||||||||||||||||||||||||||||||||||||||||||||||
| 1.2 | 10 | 12 | 15 | 1 | 2.5 | 3 | 2 | |||||||||||||||||||||||||||||||||||||||||||||||||||||||||||||||||||||||||||||||||||||||||||||||||
| 1.6 | 10 | 12 | 15 | 1.4 | 3.2 | 2.8 | ||||||||||||||||||||||||||||||||||||||||||||||||||||||||||||||||||||||||||||||||||||||||||||||||||
| 2 | 12 | 15 | 1.8 | 4 | 3.6 | |||||||||||||||||||||||||||||||||||||||||||||||||||||||||||||||||||||||||||||||||||||||||||||||||||
| 2.5 | 15 | 20 | 2.3 | 5 | 4.6 | |||||||||||||||||||||||||||||||||||||||||||||||||||||||||||||||||||||||||||||||||||||||||||||||||||
| 3.2 | 20 | 2.9 | 3.2 | 6.4 | 5.8 | |||||||||||||||||||||||||||||||||||||||||||||||||||||||||||||||||||||||||||||||||||||||||||||||||||
| 4 | 20 | 25 | 3.7 | 4 | 8 | 7.4 | ||||||||||||||||||||||||||||||||||||||||||||||||||||||||||||||||||||||||||||||||||||||||||||||||||
| 5 | 35 | 4.6 | 10 | 9.2 | ||||||||||||||||||||||||||||||||||||||||||||||||||||||||||||||||||||||||||||||||||||||||||||||||||||
| ||||||||||||||||||||||||||||||||||||||||||||||||||||||||||||||||||||||||||||||||||||||||||||||||||||||||